专利数据库
统计分析
产业报告
专利数据监控
产业人才
行业动态
产业政策法规
维权援助
个人中心
详情
文本
图像
标题
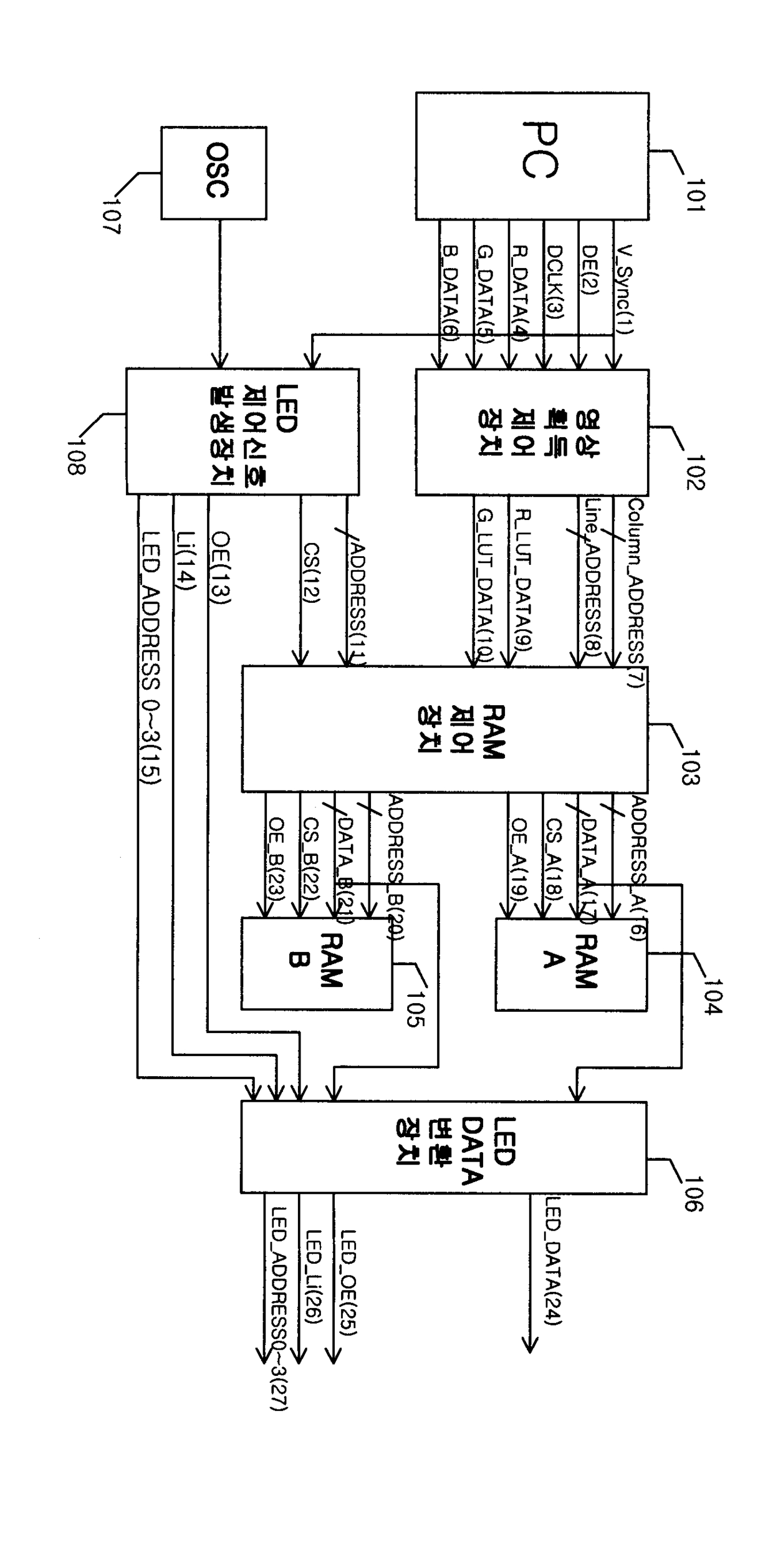
티에프티 엘시디 커넥터를 이용한 엘시디 전광판의제어기 표시장치
授权日
2003-06-05
公开(公告)号
KR200316786Y1
申请日
2003-03-07
公开(公告)日
2003-06-18
当前申请(专利权)人
유명호
发明人
RYU MOUNG HO
简单同族
KR200316786Y1
简单同族成员数量
1
简单同族被引用专利总数
0
诉讼案件数
0
法律状态/事件
放弃
抱歉,您的浏览器不支持PDF预览,请点击链接下载PDF文件