专利数据库
统计分析
产业报告
专利数据监控
产业人才
行业动态
产业政策法规
维权援助
个人中心
详情
文本
图像
标题
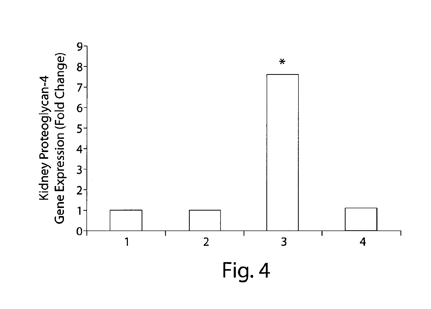
Proteaoglycan-4 as marker for chronic renal failure
授权日
1900-01-01
公开(公告)号
EP2455755A3
申请日
2008-06-20
公开(公告)日
2012-08-15
当前申请(专利权)人
GENERA ISTRAZIVANJA D.O.O.
发明人
GRGUREVIC, LOVORKA | VUKICEVIC, SLOBODAN
简单同族
AT550648T | EP2171450A2 | EP2171450A4 | EP2171450B1 | EP2455755A2 | EP2455755A3 | US20100254997A1 | US8263072 | WO2009002451A2 | WO2009002451A3
简单同族成员数量
10
简单同族被引用专利总数
36
诉讼案件数
0
法律状态/事件
撤回
抱歉,您的浏览器不支持PDF预览,请点击链接下载PDF文件