专利数据库
统计分析
产业报告
专利数据监控
产业人才
行业动态
产业政策法规
维权援助
个人中心
详情
文本
图像
标题
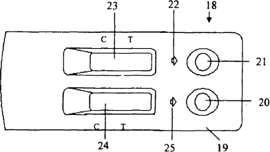
人类免疫缺陷病毒(HIV)抗体和抗原联合快速检测试剂盒
授权日
1900-01-01
公开(公告)号
CN101266246A
申请日
2008-04-30
公开(公告)日
2008-09-17
当前申请(专利权)人
天津中新科炬生物制药股份有限公司
发明人
李洲 | 杨发青
简单同族
CN101266246A | CN101266246B
简单同族成员数量
2
简单同族被引用专利总数
39
诉讼案件数
0
法律状态/事件
授权 | 质押
抱歉,您的浏览器不支持PDF预览,请点击链接下载PDF文件