专利数据库
统计分析
产业报告
专利数据监控
产业人才
行业动态
产业政策法规
维权援助
个人中心
详情
文本
图像
标题
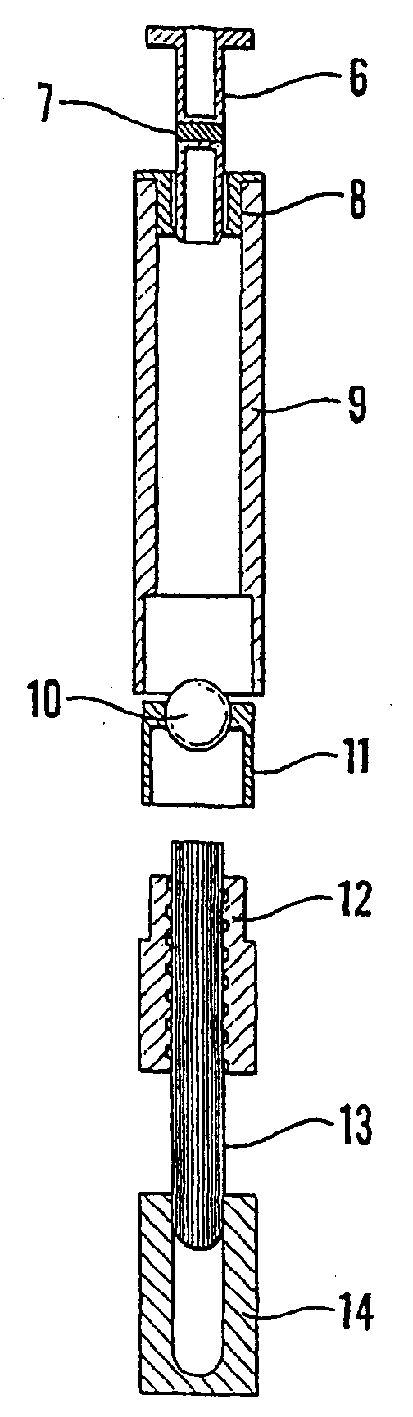
利用着色颗粒的定量非仪器免疫测定及装置
授权日
2006-05-17
公开(公告)号
CN1256590C
申请日
2002-04-26
公开(公告)日
2006-05-17
当前申请(专利权)人
厄灵·森德雷哈根
发明人
厄灵·森德雷哈根
简单同族
CN1256590C | CN1522371A | EP1384078A1 | JP2004527760A | NO20012150A | NO20012150D0 | NO20012150L | NO314206B1 | US20020160428A1 | WO2002095409A1
简单同族成员数量
10
简单同族被引用专利总数
38
诉讼案件数
0
法律状态/事件
未缴年费
抱歉,您的浏览器不支持PDF预览,请点击链接下载PDF文件