专利数据库
统计分析
产业报告
专利数据监控
产业人才
行业动态
产业政策法规
维权援助
个人中心
详情
文本
图像
标题
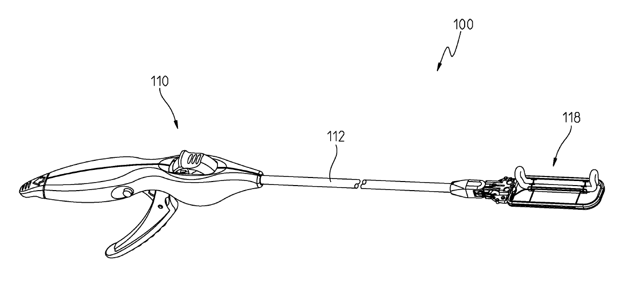
Clip deployment tool and associated methods
授权日
2019-03-26
公开(公告)号
US10238398
申请日
2016-02-03
公开(公告)日
2019-03-26
当前申请(专利权)人
ATRICURE, INC.
发明人
HUGHETT, SR., JAMES DAVID | MARTIN, KEITH EDWARD | MILLER, KENNETH LANCE | DOLGIN, MICHAEL
简单同族
EP2804544A1 | EP2804544A4 | EP2804544B1 | US10238398 | US20130190777A1 | US20160151072A1 | US20190216465A1 | US9282973 | WO2013110089A1
简单同族成员数量
9
简单同族被引用专利总数
26
诉讼案件数
0
法律状态/事件
授权 | 质押 | 权利转移
抱歉,您的浏览器不支持PDF预览,请点击链接下载PDF文件