专利数据库
统计分析
产业报告
专利数据监控
产业人才
行业动态
产业政策法规
维权援助
个人中心
详情
文本
图像
标题
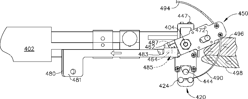
Laparoscopic suture device with asynchronous in-line needle movement
授权日
2015-10-27
公开(公告)号
US9168037
申请日
2011-06-09
公开(公告)日
2015-10-27
当前申请(专利权)人
ETHICON LLC
发明人
WOODARD, JR., JAMES A. | SHELTON, IV, FREDERICK E. | LESKO, JASON R. | BAXTER, III, CHESTER O.
简单同族
US20110313433A1 | US9168037
简单同族成员数量
2
简单同族被引用专利总数
93
诉讼案件数
0
法律状态/事件
授权 | 质押 | 权利转移
抱歉,您的浏览器不支持PDF预览,请点击链接下载PDF文件