专利数据库
统计分析
产业报告
专利数据监控
产业人才
行业动态
产业政策法规
维权援助
个人中心
详情
文本
图像
标题
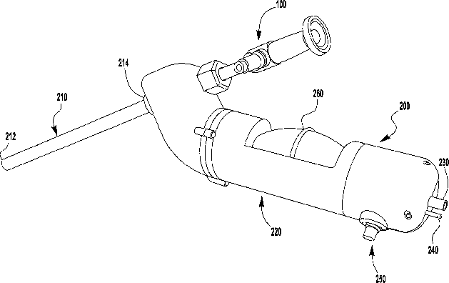
Device for maintaining visualization with surgical scopes
授权日
2015-06-09
公开(公告)号
US9050036
申请日
2007-06-19
公开(公告)日
2015-06-09
当前申请(专利权)人
FLOSHIELD, INC.
发明人
POLL, WAYNE LYLE | HUDDLESTON, MATTHREW J. | POST, WILLIAM J. | WARD, THOMAS J. | CRISAFULLI, CAROLINE M. | LANDIS, ADAM
简单同族
EP2173232A2 | EP2173232B1 | US10398290 | US20080319266A1 | US20150265138A1 | US9050036 | WO2008157654A2 | WO2008157654A3
简单同族成员数量
8
简单同族被引用专利总数
81
诉讼案件数
0
法律状态/事件
授权 | 质押 | 权利转移
抱歉,您的浏览器不支持PDF预览,请点击链接下载PDF文件