专利数据库
统计分析
产业报告
专利数据监控
产业人才
行业动态
产业政策法规
维权援助
个人中心
详情
文本
图像
标题
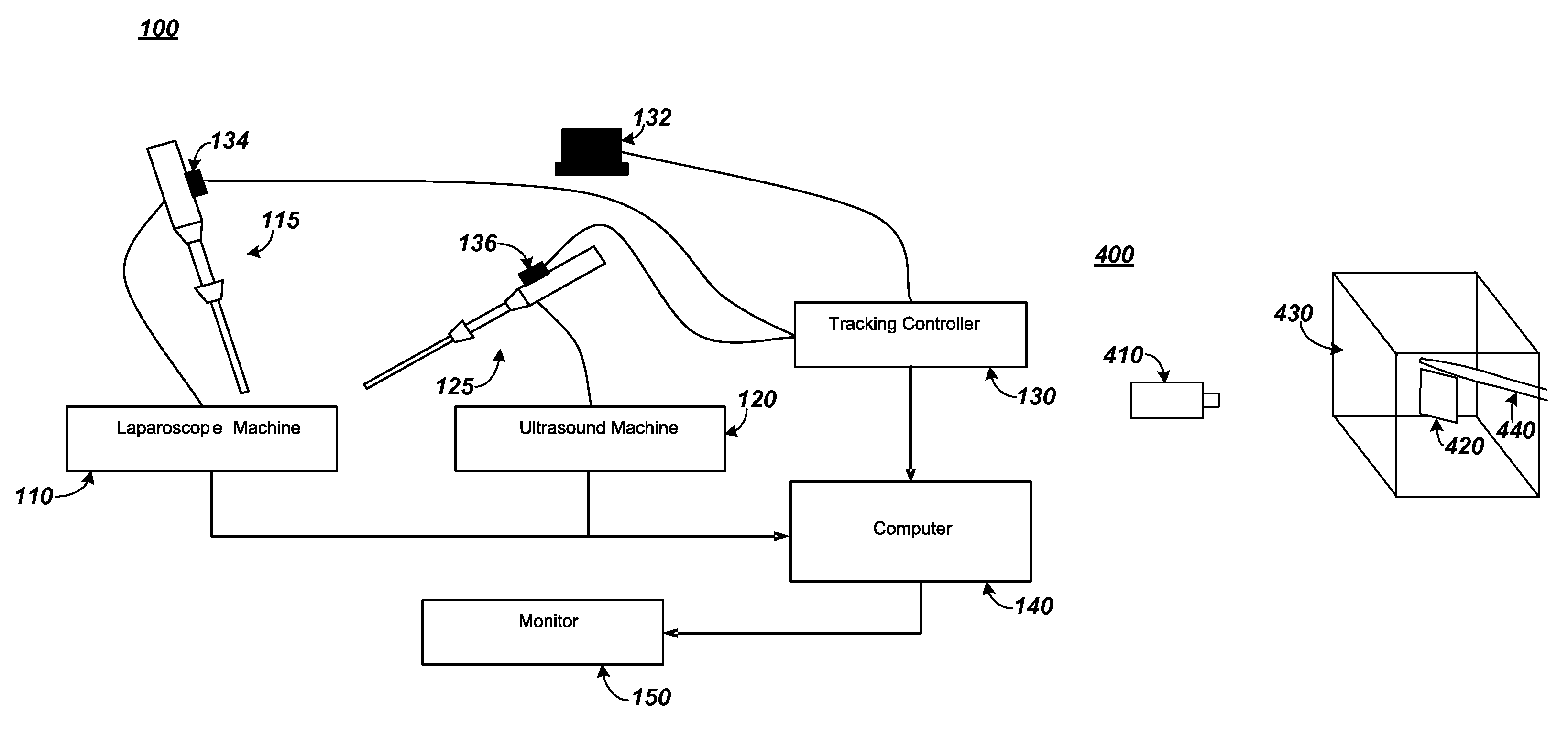
System and method for overlaying ultrasound imagery on a laparoscopic camera display
授权日
2012-09-18
公开(公告)号
US8267853
申请日
2008-06-23
公开(公告)日
2012-09-18
当前申请(专利权)人
SOUTHWEST RESEARCH INSTITUTE
发明人
FISHER, JAMES BRIAN | BOWERS, STEVEN P. | VAN SICKLE, KENT R. | COUVILLION, JR., WARREN CARL | WRIGHT, ROBERT D. | CANNON, JEREMY W.
简单同族
US20090318756A1 | US8267853
简单同族成员数量
2
简单同族被引用专利总数
43
诉讼案件数
0
法律状态/事件
授权 | 权利转移
抱歉,您的浏览器不支持PDF预览,请点击链接下载PDF文件