专利数据库
统计分析
产业报告
专利数据监控
产业人才
行业动态
产业政策法规
维权援助
个人中心
详情
文本
图像
标题
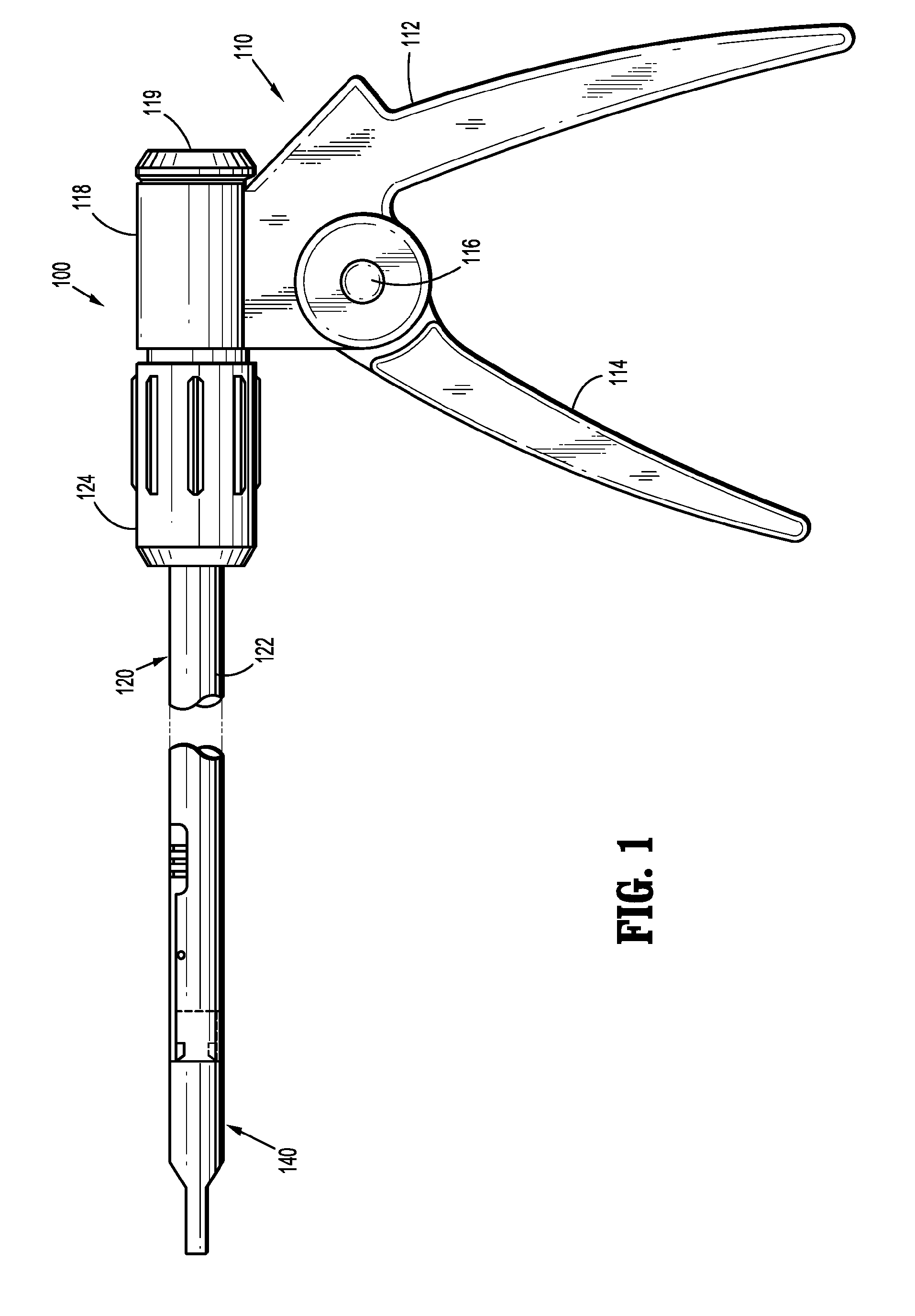
Laparoscopic surgical ligation clip applier
授权日
1900-01-01
公开(公告)号
EP3028653A1
申请日
2015-12-01
公开(公告)日
2016-06-08
当前申请(专利权)人
COVIDIEN LP
发明人
ASIDO, NORVIN | TOKARZ, CHRISTOPHER A.
简单同族
CA2912838A1 | CN105640609A | CN105640609B | EP3028653A1 | EP3028653B1 | US10702278 | US20160151071A1
简单同族成员数量
7
简单同族被引用专利总数
51
诉讼案件数
0
法律状态/事件
授权
抱歉,您的浏览器不支持PDF预览,请点击链接下载PDF文件