专利数据库
统计分析
产业报告
专利数据监控
产业人才
行业动态
产业政策法规
维权援助
个人中心
详情
文本
图像
标题
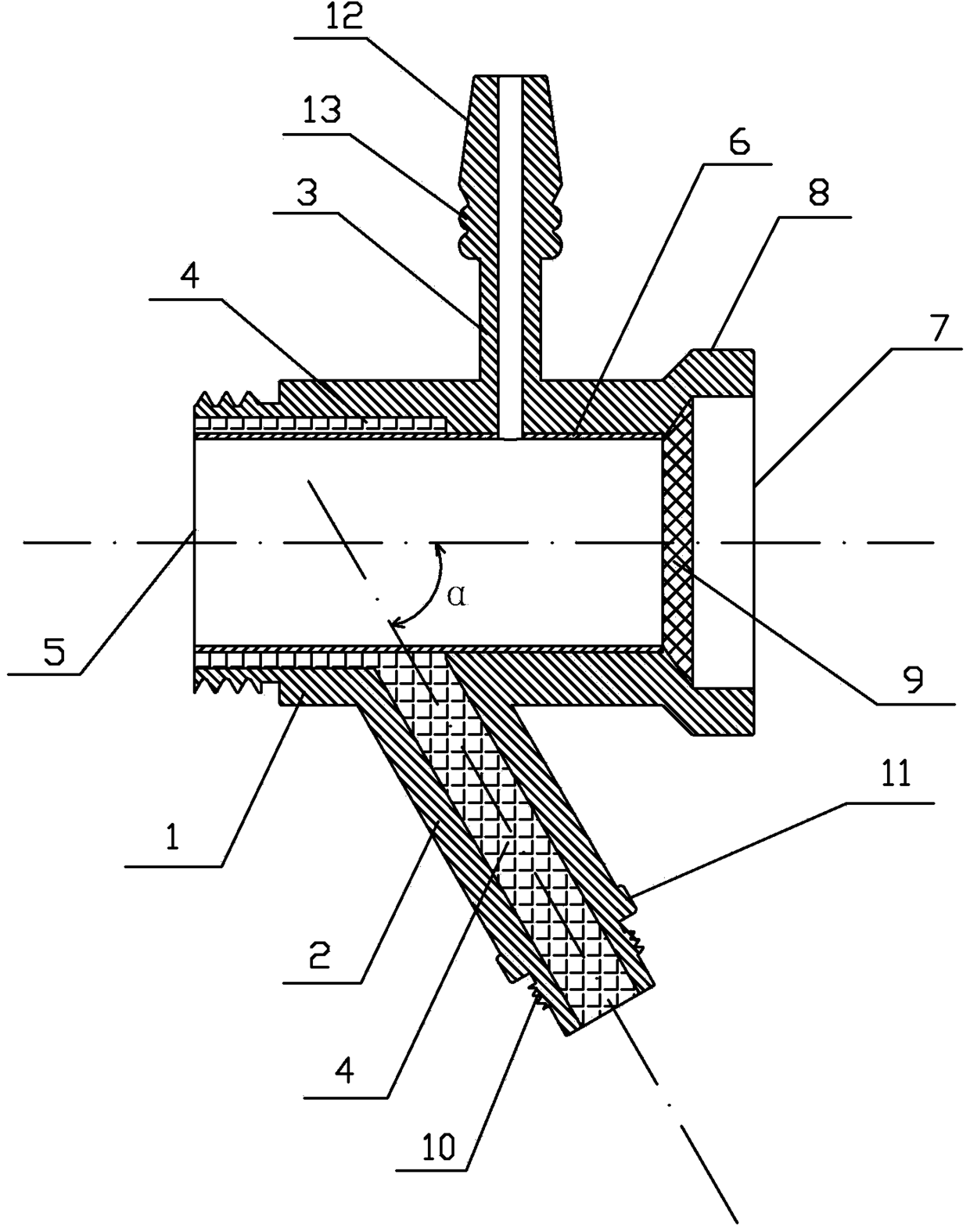
环形导光装置
授权日
2014-06-04
公开(公告)号
CN203619519U
申请日
2013-11-22
公开(公告)日
2014-06-04
当前申请(专利权)人
杭州大力神医疗器械有限公司
发明人
寿张根 | 张微 | 张百炁
简单同族
CN203619519U
简单同族成员数量
1
简单同族被引用专利总数
0
诉讼案件数
0
法律状态/事件
授权
抱歉,您的浏览器不支持PDF预览,请点击链接下载PDF文件