专利数据库
统计分析
产业报告
专利数据监控
产业人才
行业动态
产业政策法规
维权援助
个人中心
详情
文本
图像
标题
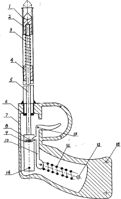
鼻窦穿刺枪
授权日
2005-12-07
公开(公告)号
CN2744309Y
申请日
2004-07-21
公开(公告)日
2005-12-07
当前申请(专利权)人
张勤修
发明人
张勤修
简单同族
CN2744309Y
简单同族成员数量
1
简单同族被引用专利总数
0
诉讼案件数
0
法律状态/事件
未缴年费
抱歉,您的浏览器不支持PDF预览,请点击链接下载PDF文件