专利数据库
统计分析
产业报告
专利数据监控
产业人才
行业动态
产业政策法规
维权援助
个人中心
详情
文本
图像
标题
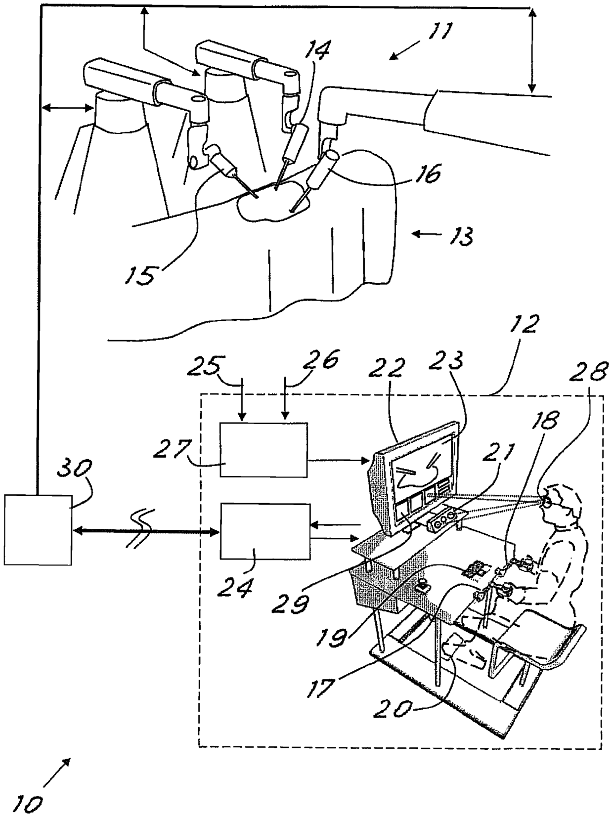
具有改进的控制器的自动化外科手术系统
授权日
1900-01-01
公开(公告)号
CN105852972A
申请日
2011-04-01
公开(公告)日
2016-08-17
当前申请(专利权)人
特兰斯安特利克斯意大利有限公司
发明人
埃米利奥·鲁伊斯莫拉莱斯 | 达米恩·布拉塞 | 保罗·因韦尔尼齐
简单同族
BR112012025516A2 | BR122014005569A2 | CA2795216A1 | CA2795216C | CN102958464A | CN102958464B | CN105852972A | EP2555703A1 | EP2555703B1 | EP3395251A1 | ES2692695T3 | HK1181631A | HK1181631A1 | IT1401669B1 | ITMI2010000579A1 | RU2012142510A | RU2015145035A | RU2015145035A3 | RU2569699C2 | US10251713 | US20130030571A1 | US20160249992A1 | US20190231456A1 | US9360934 | WO2011125007A1
简单同族成员数量
25
简单同族被引用专利总数
120
诉讼案件数
0
法律状态/事件
实质审查
抱歉,您的浏览器不支持PDF预览,请点击链接下载PDF文件