专利数据库
统计分析
产业报告
专利数据监控
产业人才
行业动态
产业政策法规
维权援助
个人中心
详情
文本
图像
标题
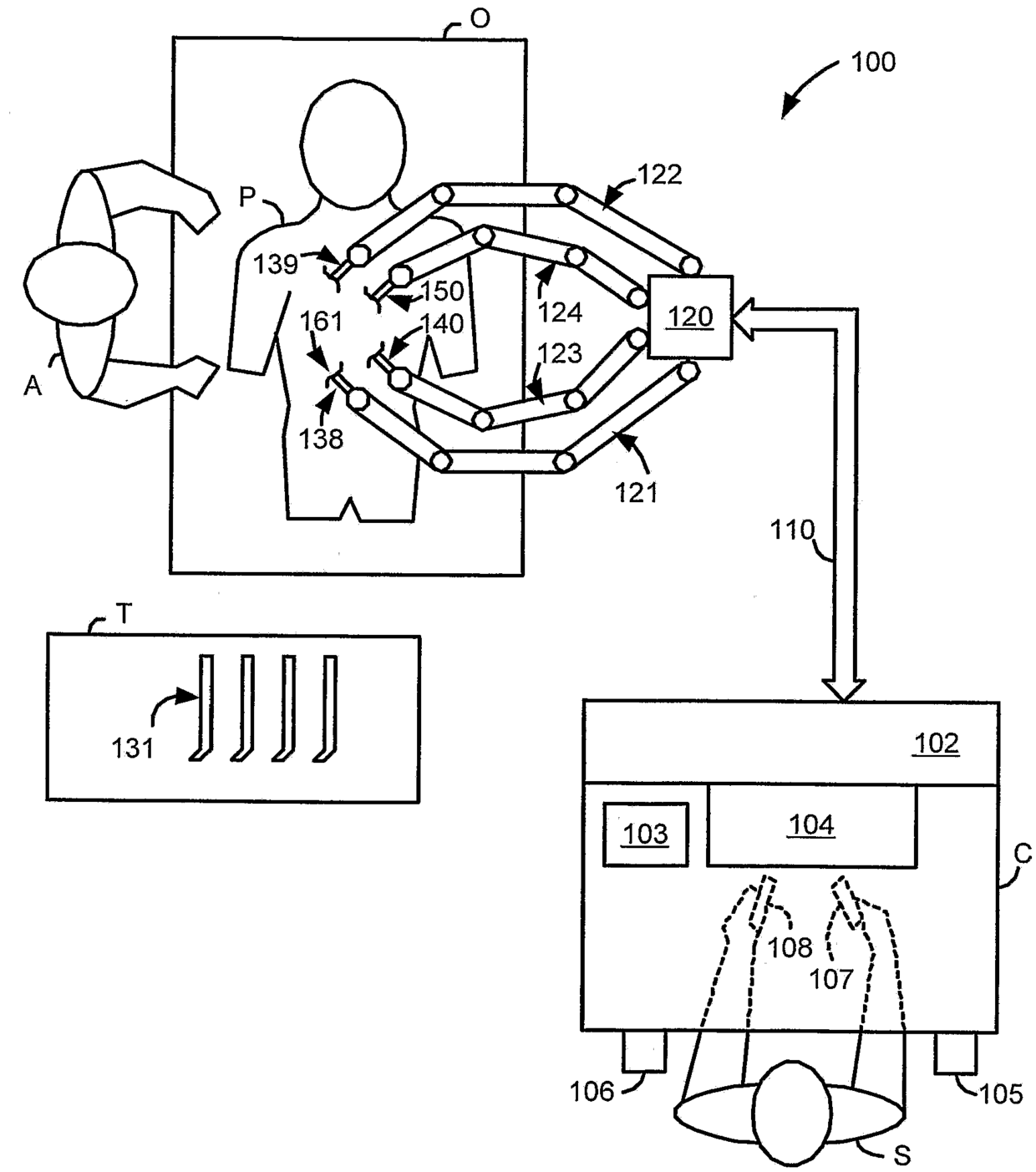
医用机器人系统中的计算机显示屏上的辅助图像显示和操纵
授权日
2016-04-27
公开(公告)号
CN103251455B
申请日
2006-10-19
公开(公告)日
2016-04-27
当前申请(专利权)人
直观外科手术操作公司
发明人
B·霍夫曼 | R·库马 | D·拉金 | G·普林斯科 | N·斯瓦厄普 | G·张
简单同族
CN101291635A | CN101291635B | CN103142309A | CN103142309B | CN103251455A | CN103251455B | EP1937176A2 | EP1937176B1 | EP3155998A1 | EP3162318A2 | EP3162318A3 | EP3162318B1 | EP3524202A1 | JP2009512514A | JP2009512514A5 | JP2012055752A | JP2012061336A | JP2013150873A | JP5276706B2 | JP5322648B2 | JP5467615B2 | JP5639223B2 | KR101320379B1 | KR1020080068640A | US20080033240A1 | US20160235496A1 | US20190388169A1 | WO2007047782A2 | WO2007047782A3
简单同族成员数量
29
简单同族被引用专利总数
235
诉讼案件数
0
法律状态/事件
授权
抱歉,您的浏览器不支持PDF预览,请点击链接下载PDF文件