专利数据库
统计分析
产业报告
专利数据监控
产业人才
行业动态
产业政策法规
维权援助
个人中心
详情
文本
图像
标题
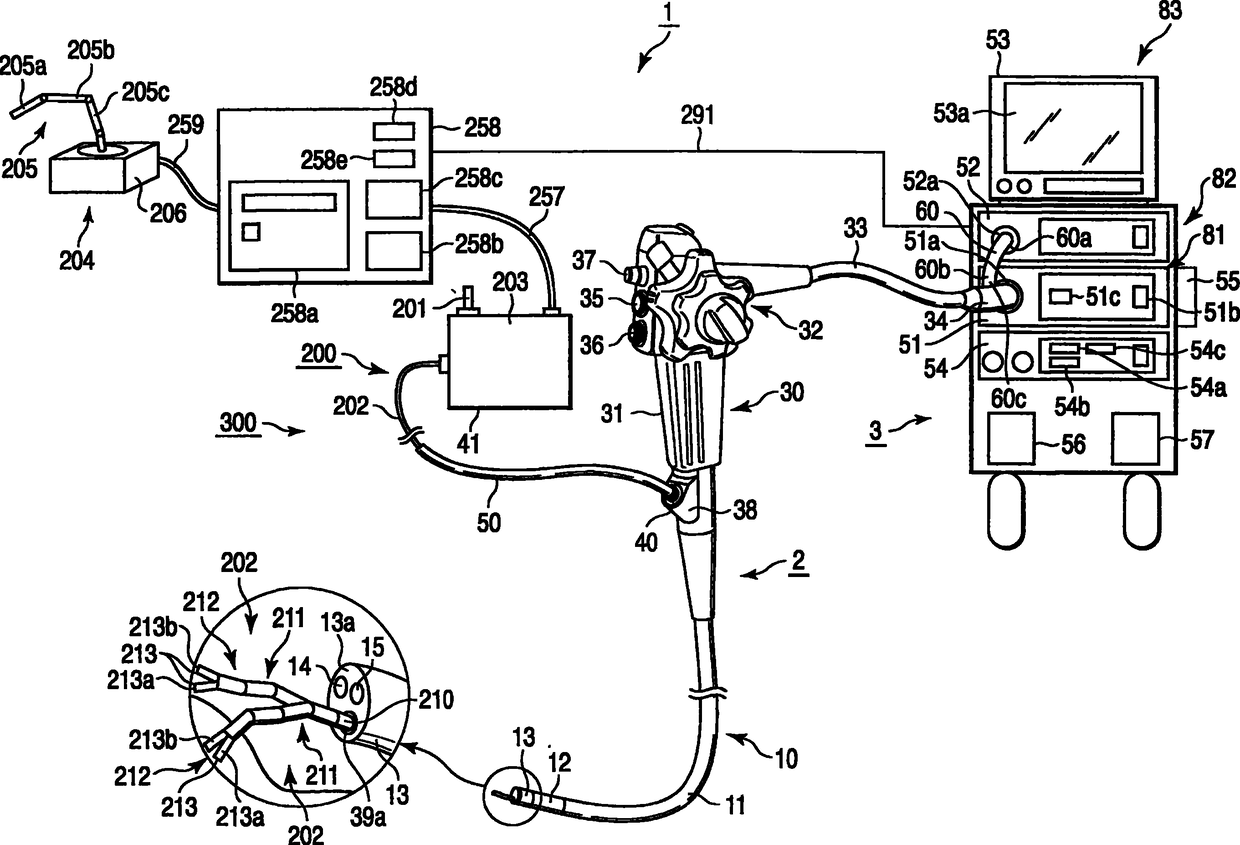
机械手操作系统
授权日
2011-06-15
公开(公告)号
CN101513360B
申请日
2008-11-07
公开(公告)日
2011-06-15
当前申请(专利权)人
奥林巴斯株式会社
发明人
万寿和夫
简单同族
CN101513360A | CN101513360B | EP2092874A1 | EP2092874B1 | JP2009195489A | US20090216077A1 | US8308633
简单同族成员数量
7
简单同族被引用专利总数
37
诉讼案件数
0
法律状态/事件
授权 | 权利转移
抱歉,您的浏览器不支持PDF预览,请点击链接下载PDF文件