专利数据库
统计分析
产业报告
专利数据监控
产业人才
行业动态
产业政策法规
维权援助
个人中心
详情
文本
图像
标题
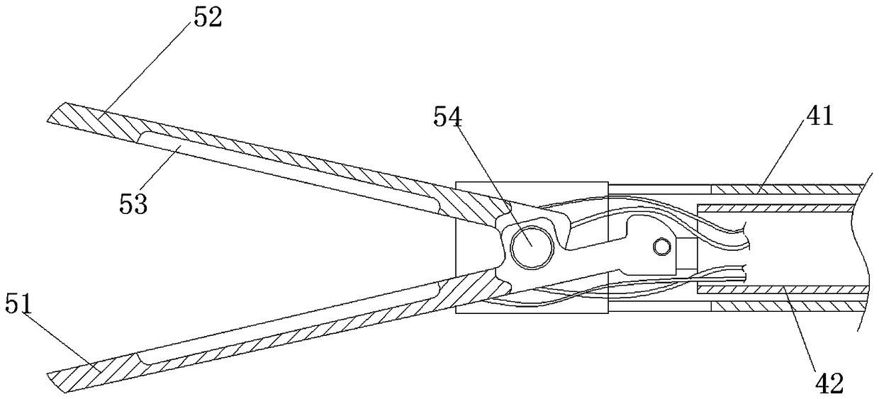
腹腔镜去肾动脉交感神经术用射频消融设备
授权日
2019-02-05
公开(公告)号
CN208464251U
申请日
2018-03-22
公开(公告)日
2019-02-05
当前申请(专利权)人
高传玉
发明人
高传玉 | 赵林蔚 | 陈连喜 | 杨晓航 | 苏恩勇 | 朱彬彬 | 刘亚慧 | 朱利杰 | 白民富
简单同族
CN208464251U
简单同族成员数量
1
简单同族被引用专利总数
0
诉讼案件数
0
法律状态/事件
授权
抱歉,您的浏览器不支持PDF预览,请点击链接下载PDF文件