专利数据库
统计分析
产业报告
专利数据监控
产业人才
行业动态
产业政策法规
维权援助
个人中心
详情
文本
图像
标题
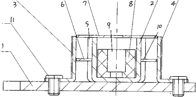
用于内窥镜的导向滑槽装置
授权日
2003-05-28
公开(公告)号
CN2552471Y
申请日
2002-06-28
公开(公告)日
2003-05-28
当前申请(专利权)人
上海富士能高内镜有限公司
发明人
徐重人 | 姜纯粹 | 鲍世洪
简单同族
CN2552471Y
简单同族成员数量
1
简单同族被引用专利总数
0
诉讼案件数
0
法律状态/事件
未缴年费
抱歉,您的浏览器不支持PDF预览,请点击链接下载PDF文件