专利数据库
统计分析
产业报告
专利数据监控
产业人才
行业动态
产业政策法规
维权援助
个人中心
详情
文本
图像
标题
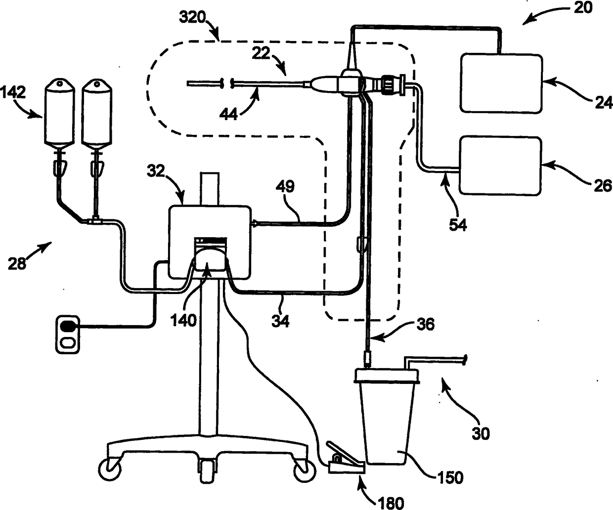
生物膜去除的系统和方法,包括与其一起使用的生物膜去除内窥镜
授权日
2013-11-20
公开(公告)号
CN101668474B
申请日
2008-02-11
公开(公告)日
2013-11-20
当前申请(专利权)人
麦德托尼克艾克斯欧麦德股份有限公司
发明人
D·E·斯兰科尔 | C·O·莱威斯 | G·W·诺曼 | J·R·普力斯科
简单同族
AU2008219489A1 | AU2008219489B2 | CA2679537A1 | CA2679537C | CN101668474A | CN101668474B | EP2131719A1 | EP2131719B1 | ES2592320T3 | JP2010519962A | KR101437197B1 | KR1020090122362A | US20080214891A1 | US20120253125A1 | US8206349 | US8790301 | WO2008106298A1
简单同族成员数量
17
简单同族被引用专利总数
45
诉讼案件数
0
法律状态/事件
授权
抱歉,您的浏览器不支持PDF预览,请点击链接下载PDF文件