专利数据库
统计分析
产业报告
专利数据监控
产业人才
行业动态
产业政策法规
维权援助
个人中心
详情
文本
图像
标题
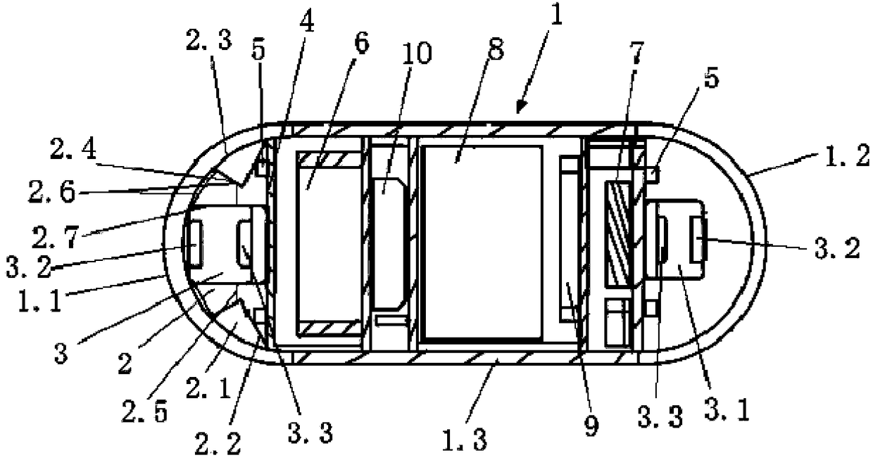
具有导光装置的双镜头胶囊型内窥镜
授权日
2018-08-03
公开(公告)号
CN207679420U
申请日
2017-05-11
公开(公告)日
2018-08-03
当前申请(专利权)人
安翰科技(武汉)股份有限公司
发明人
王新宏 | 明繁华 | 陈运文 | 刘浩 | 肖国华
简单同族
CN207679420U
简单同族成员数量
1
简单同族被引用专利总数
0
诉讼案件数
0
法律状态/事件
授权
抱歉,您的浏览器不支持PDF预览,请点击链接下载PDF文件