专利数据库
统计分析
产业报告
专利数据监控
产业人才
行业动态
产业政策法规
维权援助
个人中心
详情
文本
图像
标题
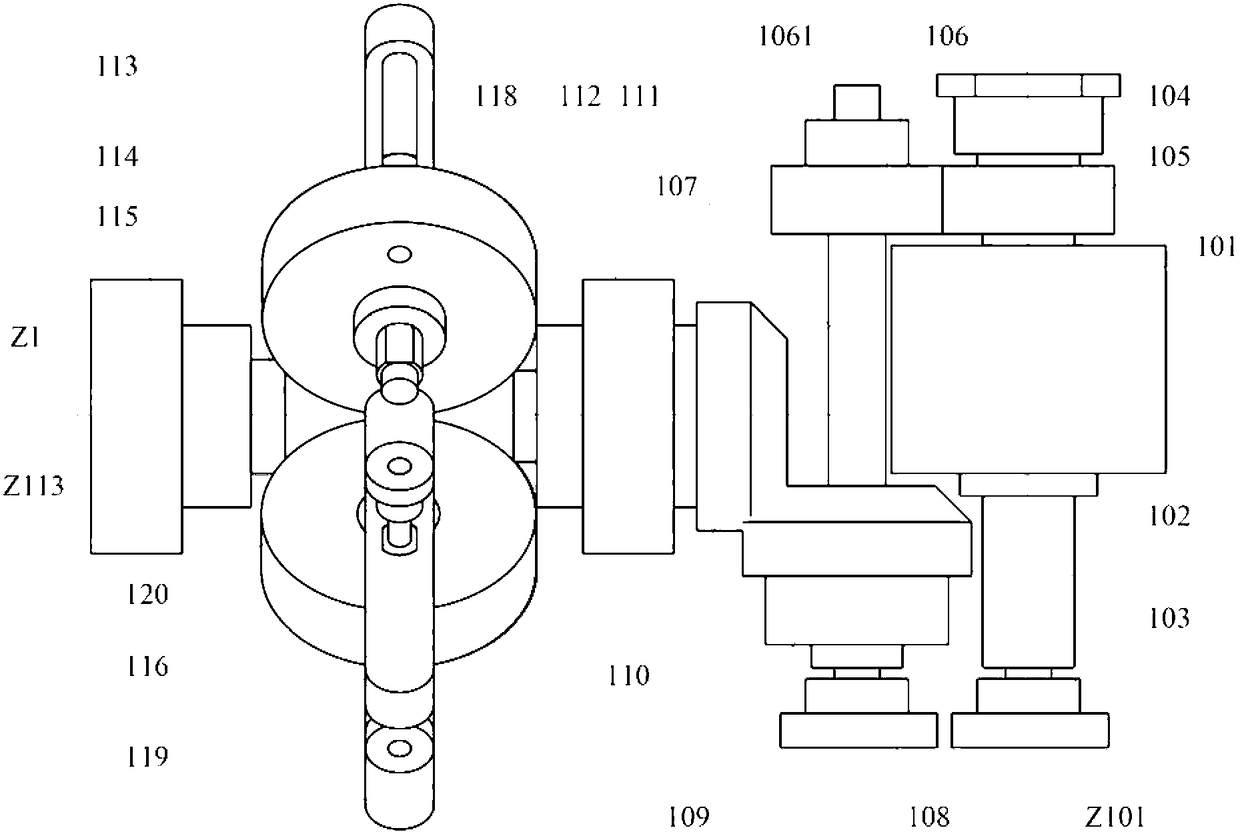
一种用于消化道内窥镜检查的胶囊机器人及其控制系统
授权日
1900-01-01
公开(公告)号
CN103251369A
申请日
2013-04-17
公开(公告)日
2013-08-21
当前申请(专利权)人
华中科技大学
发明人
刘胜 | 孙珍军 | 张鸿海
简单同族
CN103251369A | CN103251369B
简单同族成员数量
2
简单同族被引用专利总数
29
诉讼案件数
0
法律状态/事件
授权
抱歉,您的浏览器不支持PDF预览,请点击链接下载PDF文件