专利数据库
统计分析
产业报告
专利数据监控
产业人才
行业动态
产业政策法规
维权援助
个人中心
详情
文本
图像
标题
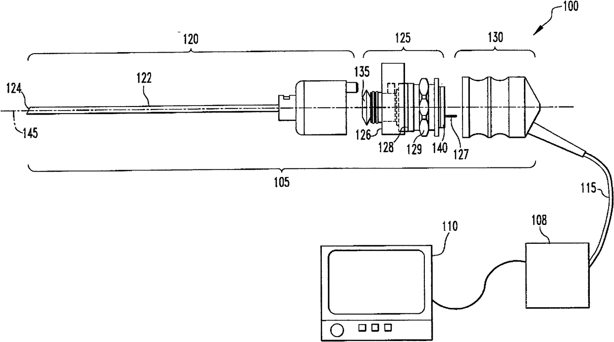
内窥镜成像系统
授权日
1900-01-01
公开(公告)号
CN102469916A
申请日
2010-07-14
公开(公告)日
2012-05-23
当前申请(专利权)人
史密夫和内修有限公司
发明人
Y·卡扎克维奇 | T·V·乐
简单同族
AU2010274107A1 | AU2010274107B2 | CN102469916A | CN102469916B | EP2456349A1 | EP2456349B1 | EP2875773A1 | EP2875773B1 | JP2012533406A | JP2015131120A | JP2018134495A | US20110018988A1 | US20130100264A1 | US8363097 | WO2011011234A1
简单同族成员数量
15
简单同族被引用专利总数
43
诉讼案件数
0
法律状态/事件
授权
抱歉,您的浏览器不支持PDF预览,请点击链接下载PDF文件