专利数据库
统计分析
产业报告
专利数据监控
产业人才
行业动态
产业政策法规
维权援助
个人中心
详情
文本
图像
标题
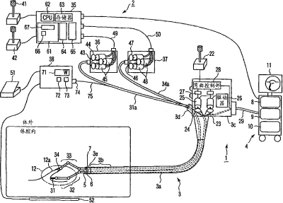
进行处理器具的位置控制的内窥镜系统及其位置控制方法
授权日
1900-01-01
公开(公告)号
CN101610713A
申请日
2008-02-14
公开(公告)日
2009-12-23
当前申请(专利权)人
奥林巴斯株式会社
发明人
长谷川润 | 吉江方史
简单同族
CN101610713A | CN101610713B | EP2123210A1 | EP2123210A4 | JP2008194302A | JP4914735B2 | US20090299136A1 | US8858424 | WO2008099881A1
简单同族成员数量
9
简单同族被引用专利总数
59
诉讼案件数
0
法律状态/事件
授权 | 权利转移
抱歉,您的浏览器不支持PDF预览,请点击链接下载PDF文件