专利数据库
统计分析
产业报告
专利数据监控
产业人才
行业动态
产业政策法规
维权援助
个人中心
详情
文本
图像
标题
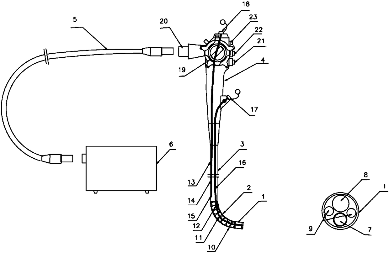
一种双钳道单孔可弯曲腹腔镜系统
授权日
1900-01-01
公开(公告)号
CN108577904A
申请日
2018-06-22
公开(公告)日
2018-09-28
当前申请(专利权)人
西安交通大学医学院第一附属医院 | 西安西川医疗器械有限公司
发明人
吕毅 | 潘西川 | 马锋 | 仵正 | 吴荣谦 | 朱皓阳 | 李宇 | 刘学民 | 王博
简单同族
CN108577904A
简单同族成员数量
1
简单同族被引用专利总数
0
诉讼案件数
0
法律状态/事件
实质审查
抱歉,您的浏览器不支持PDF预览,请点击链接下载PDF文件