专利数据库
统计分析
产业报告
专利数据监控
产业人才
行业动态
产业政策法规
维权援助
个人中心
详情
文本
图像
标题
초음파 단면 영상의 화질 개선 장치 및 방법
授权日
2007-03-14
公开(公告)号
KR100697728B1
申请日
2004-10-22
公开(公告)日
2007-03-21
当前申请(专利权)人
삼성메디슨 주식회사
发明人
LEE,JAEKEUN
简单同族
EP1650707A2 | EP1650707A3 | JP2006116316A | JP4742304B2 | KR100697728B1 | KR1020060035295A | US20060100512A1
简单同族成员数量
7
简单同族被引用专利总数
20
诉讼案件数
0
法律状态/事件
授权
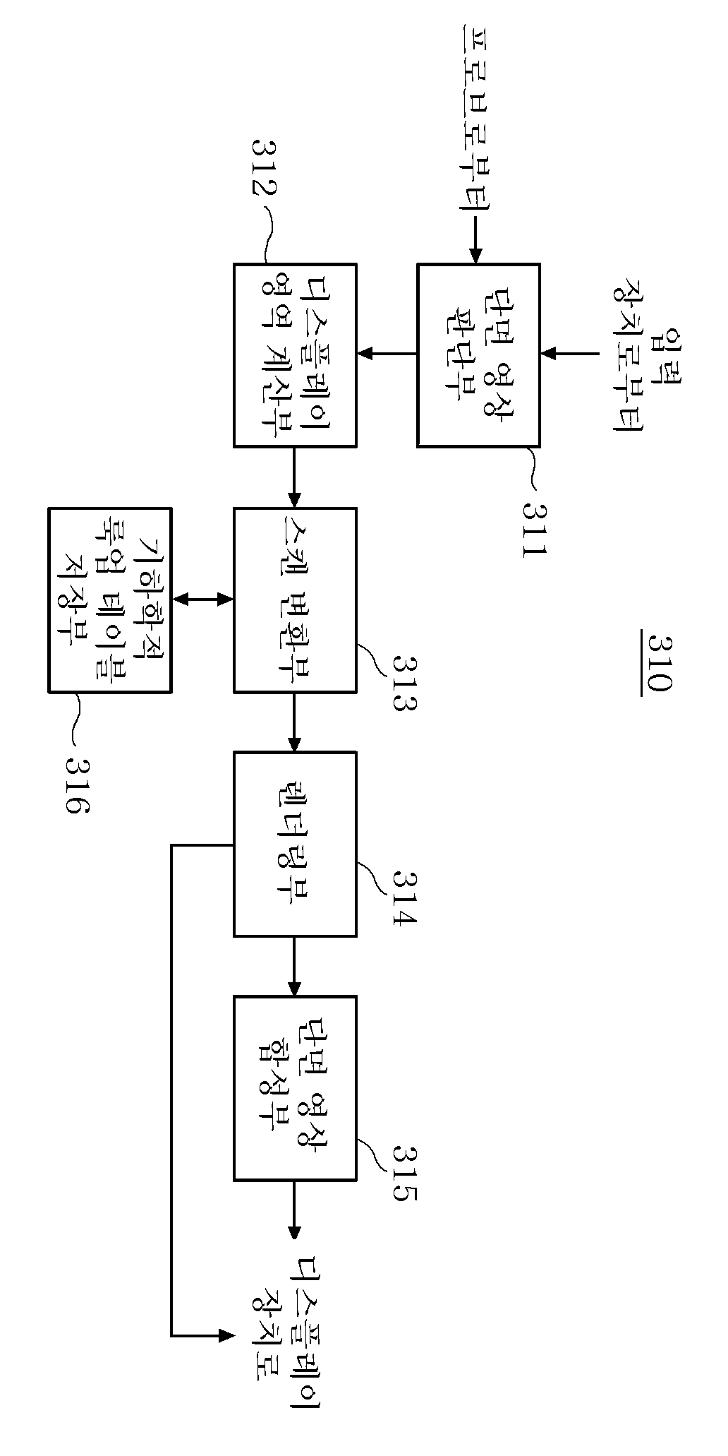
抱歉,您的浏览器不支持PDF预览,请点击链接下载PDF文件