专利数据库
统计分析
产业报告
专利数据监控
产业人才
行业动态
产业政策法规
维权援助
个人中心
详情
文本
图像
标题
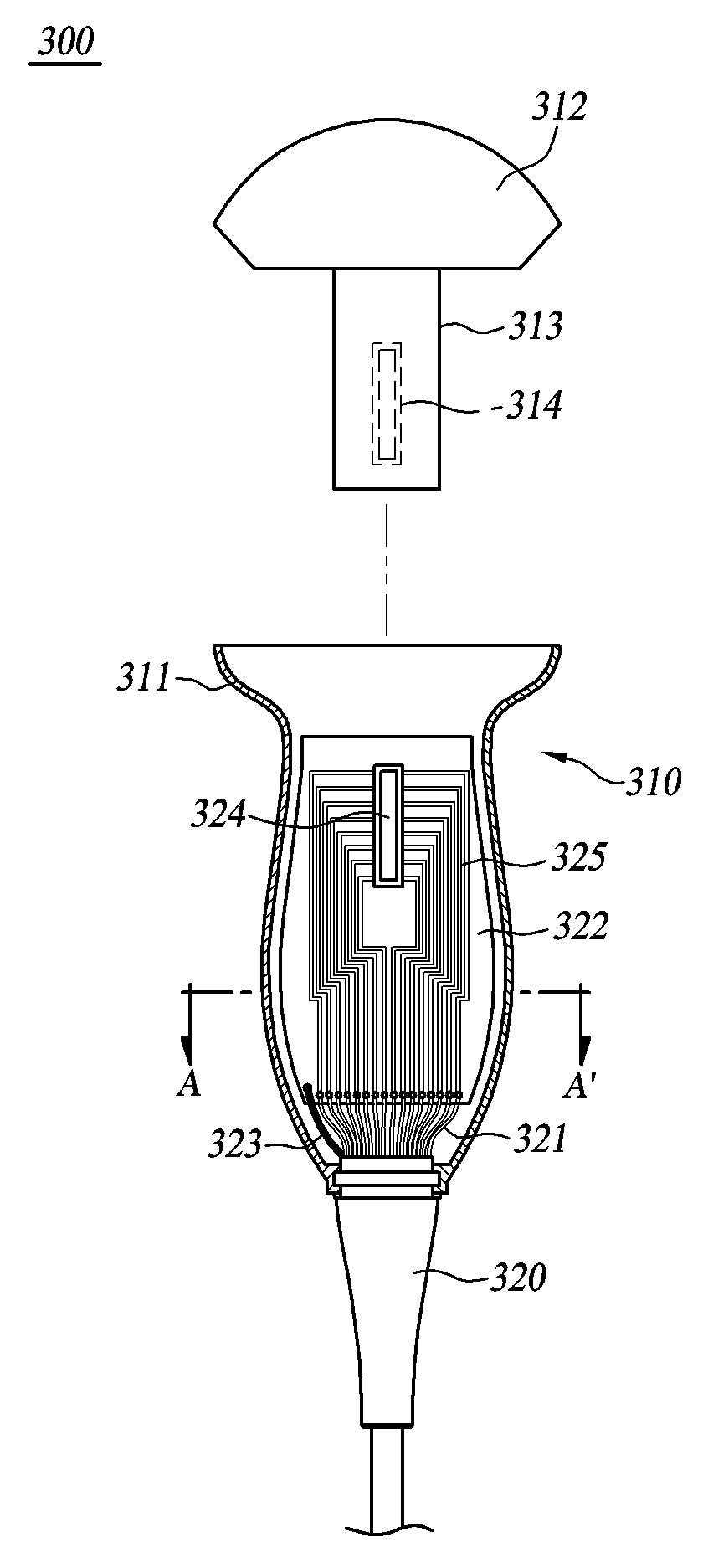
발명의 명칭 신호경로가 일체로 된 하우징을 사용하는 초음파 트랜스듀서
授权日
1900-01-01
公开(公告)号
KR1020140010913A
申请日
2013-12-19
公开(公告)日
2014-01-27
当前申请(专利权)人
알피니언메디칼시스템 주식회사
发明人
LEE, SU SUNG
简单同族
KR101565106B1 | KR1020140010913A
简单同族成员数量
2
简单同族被引用专利总数
0
诉讼案件数
0
法律状态/事件
授权 | 复审
抱歉,您的浏览器不支持PDF预览,请点击链接下载PDF文件