专利数据库
统计分析
产业报告
专利数据监控
产业人才
行业动态
产业政策法规
维权援助
个人中心
详情
文本
图像
标题
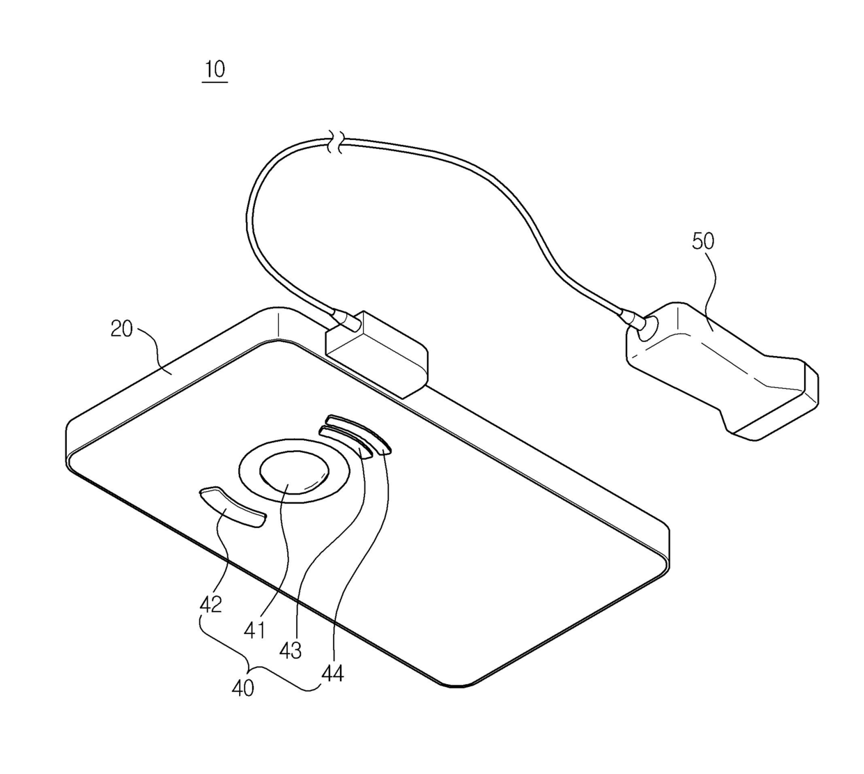
휴대형 초음파 진단기기
授权日
1900-01-01
公开(公告)号
KR1020130004854A
申请日
2011-07-04
公开(公告)日
2013-01-14
当前申请(专利权)人
삼성메디슨 주식회사
发明人
안미정
简单同族
KR101245145B1 | KR1020130004854A | US20130012817A1 | US20150320388A1 | US9095304
简单同族成员数量
5
简单同族被引用专利总数
19
诉讼案件数
0
法律状态/事件
授权
抱歉,您的浏览器不支持PDF预览,请点击链接下载PDF文件