专利数据库
统计分析
产业报告
专利数据监控
产业人才
行业动态
产业政策法规
维权援助
个人中心
详情
文本
图像
标题
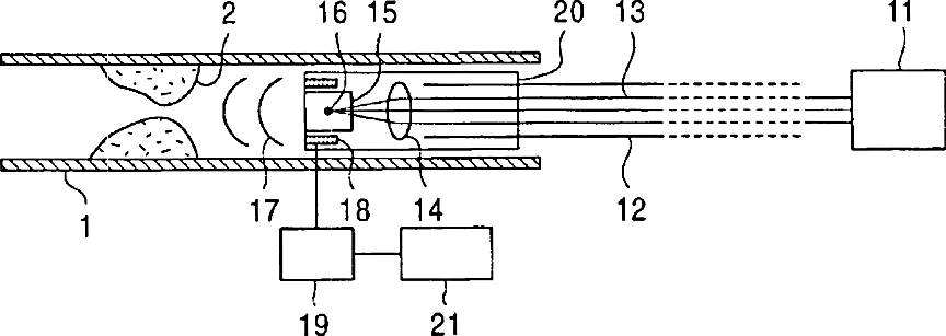
Ultrasonic angioscope system
授权日
2005-02-22
公开(公告)号
US6858009
申请日
2001-05-16
公开(公告)日
2005-02-22
当前申请(专利权)人
NATIONAL UNIVERSITY CORPORATION NARA INSTITUTE OF SCIENCE AND TECHNOLOGY
发明人
KAWATA, SATOSHI | SUGIURA, TADAO | OHSHIRO, OSAMU | CHIHARA, KUNIHIRO
简单同族
JP2002028161A | JP3868724B2 | US20040102821A1 | US6858009 | WO2002005716A1
简单同族成员数量
5
简单同族被引用专利总数
49
诉讼案件数
0
法律状态/事件
未缴年费 | 权利转移
抱歉,您的浏览器不支持PDF预览,请点击链接下载PDF文件