专利数据库
统计分析
产业报告
专利数据监控
产业人才
行业动态
产业政策法规
维权援助
个人中心
详情
文本
图像
标题
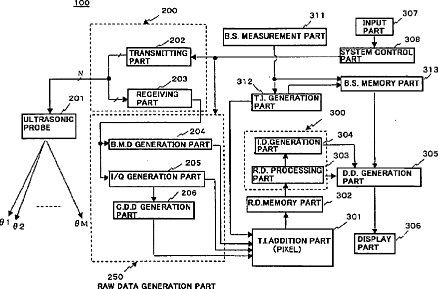
Ultrasonic imaging apparatus and method for ultrasonic imaging
授权日
1900-01-01
公开(公告)号
US20060058662A1
申请日
2005-08-30
公开(公告)日
2006-03-16
当前申请(专利权)人
TOSHIBA MEDICAL SYSTEMS CORPORATION
发明人
KOBAYASHI, YUTAKA | UCHIBORI, TAKANOBU | NAGAI, TAKETOSHI | SATO, KOICHI
简单同族
CN1757380A | CN1757380B | JP2006068101A | JP4649147B2 | US20060058662A1 | US8241214
简单同族成员数量
6
简单同族被引用专利总数
18
诉讼案件数
0
法律状态/事件
授权 | 权利转移
抱歉,您的浏览器不支持PDF预览,请点击链接下载PDF文件