专利数据库
统计分析
产业报告
专利数据监控
产业人才
行业动态
产业政策法规
维权援助
个人中心
详情
文本
图像
标题
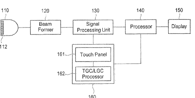
Ultrasound system and signal processing unit configured for time gain and lateral gain compensation --.
授权日
1900-01-01
公开(公告)号
US20180228472A1
申请日
2018-04-04
公开(公告)日
2018-08-16
当前申请(专利权)人
SAMSUNG MEDISON CO., LTD.
发明人
LEE, DOO SIK | AHN, MI JEOUNG
简单同族
DE602007010404D1 | EP1929952A1 | EP1929952B1 | KR100936456B1 | KR1020080051917A | US10321891 | US20080139932A1 | US20110276283A1 | US20120232393A1 | US20130144169A1 | US20130303911A1 | US20160007966A1 | US20180228472A1 | US8016759 | US8403855 | US9055920 | US9259209 | US9833220
简单同族成员数量
18
简单同族被引用专利总数
34
诉讼案件数
0
法律状态/事件
实质审查
抱歉,您的浏览器不支持PDF预览,请点击链接下载PDF文件