专利数据库
统计分析
产业报告
专利数据监控
产业人才
行业动态
产业政策法规
维权援助
个人中心
详情
文本
图像
标题
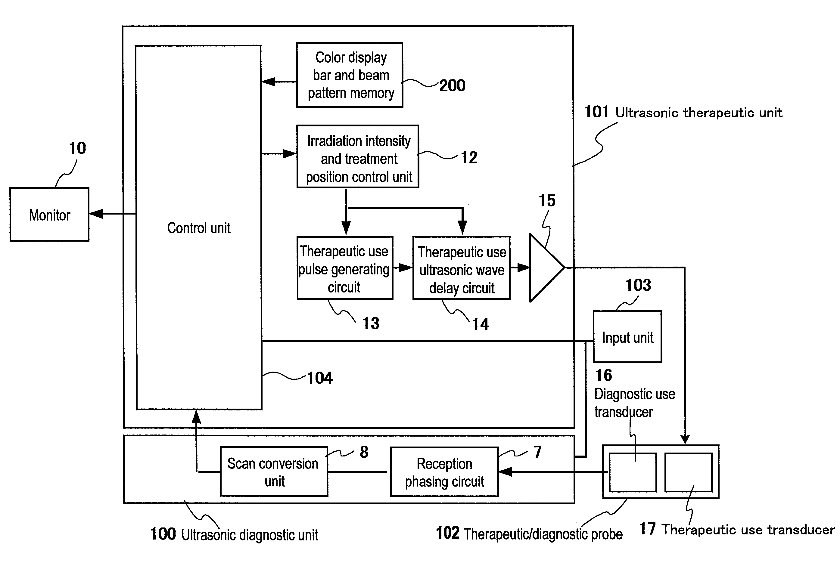
Ultrasonic Therapeutic Apparatus
授权日
1900-01-01
公开(公告)号
US20100222676A1
申请日
2006-06-22
公开(公告)日
2010-09-02
当前申请(专利权)人
JIKEI UNIVERSITY, THE | HASHIMOTO ELECTRONIC INDUSTRY CO., LTD.
发明人
OGIHARA, MAKOTO | KUBOTA, JUN | SASAKI, AKIRA | FURUHATA, HIROSHI
简单同族
JP4913736B2 | JPWO2006137484A1 | US20100222676A1 | US8740797 | WO2006137484A1
简单同族成员数量
5
简单同族被引用专利总数
28
诉讼案件数
0
法律状态/事件
未缴年费 | 权利转移
抱歉,您的浏览器不支持PDF预览,请点击链接下载PDF文件