专利数据库
统计分析
产业报告
专利数据监控
产业人才
行业动态
产业政策法规
维权援助
个人中心
详情
文本
图像
标题
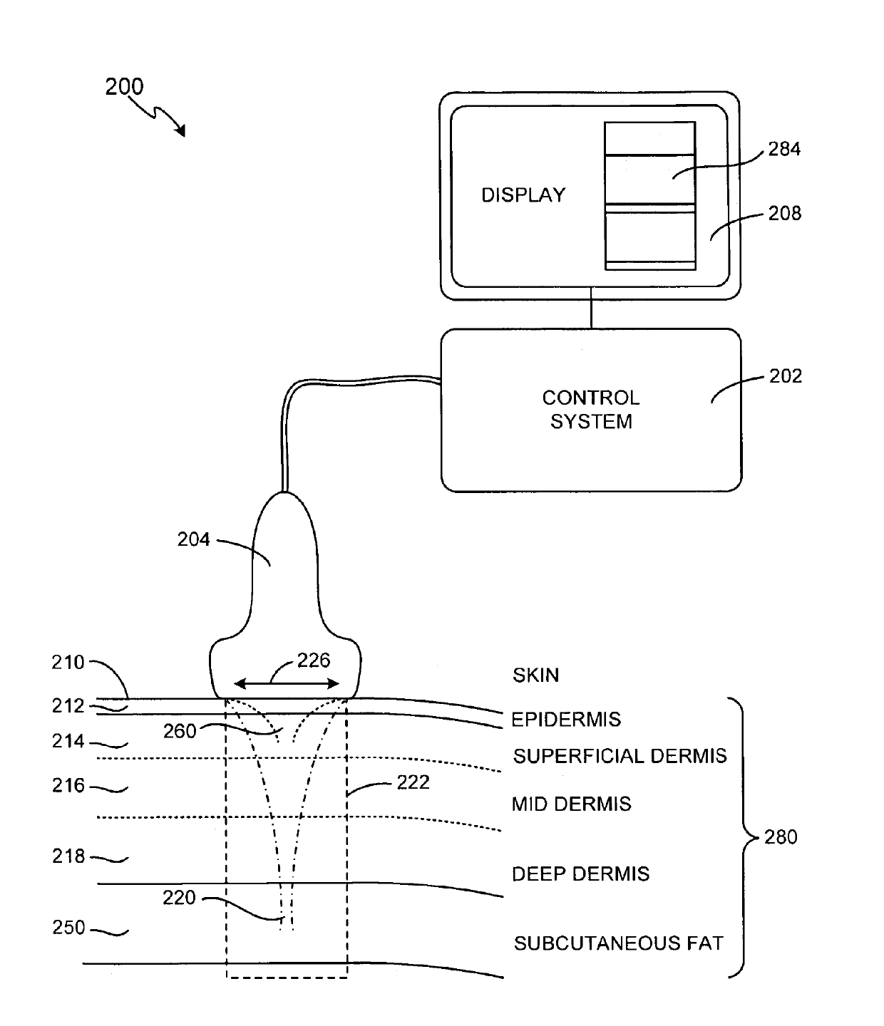
Ultrasound probe for treating skin laxity
授权日
1900-01-01
公开(公告)号
US20190184207A1
申请日
2019-02-25
公开(公告)日
2019-06-20
当前申请(专利权)人
GUIDED THERAPY SYSTEMS, L.L.C.
发明人
BARTHE, PETER G. | SLAYTON, MICHAEL H. | MAKIN, INDER RAJ S.
简单同族
US10010724 | US10265550 | US10610705 | US20170281084A1 | US20180085607A1 | US20180272157A1 | US20190184207A1 | US20200188703A1 | US9827449
简单同族成员数量
9
简单同族被引用专利总数
20
诉讼案件数
0
法律状态/事件
授权 | 权利转移
抱歉,您的浏览器不支持PDF预览,请点击链接下载PDF文件