专利数据库
统计分析
产业报告
专利数据监控
产业人才
行业动态
产业政策法规
维权援助
个人中心
详情
文本
图像
标题
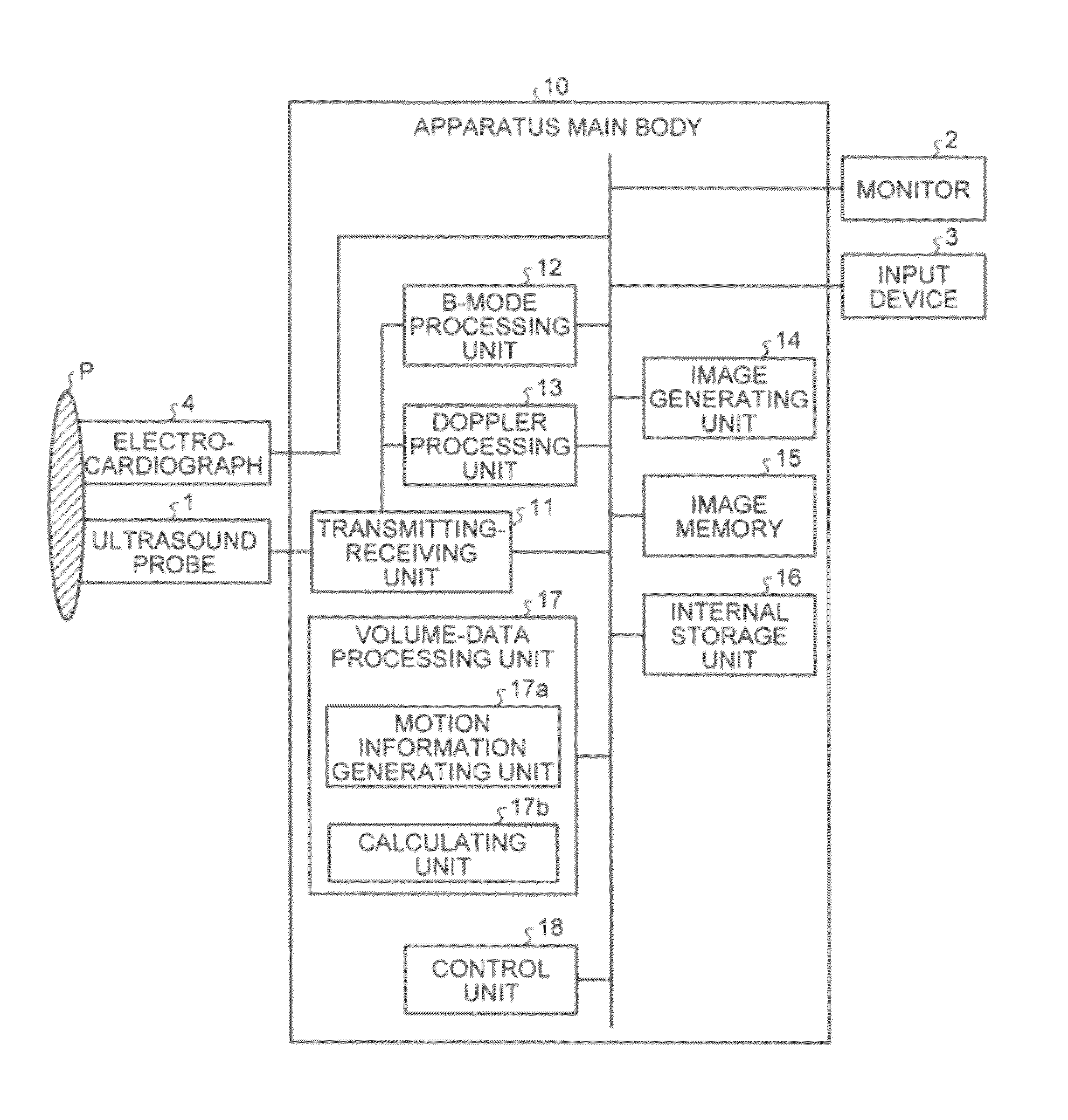
Ultrasound diagnosis apparatus, image processing apparatus, and image processing method
授权日
2014-02-11
公开(公告)号
US8647274
申请日
2012-03-01
公开(公告)日
2014-02-11
当前申请(专利权)人
TOSHIBA MEDICAL SYSTEMS CORPORATION
发明人
ABE, YASUHIKO | KAWAGISHI, TETSUYA
简单同族
CN102523733A | CN102523733B | CN105662475A | CN105662475B | JP2012055483A | JP5597492B2 | US20120165674A1 | US8647274 | WO2012032988A1
简单同族成员数量
9
简单同族被引用专利总数
33
诉讼案件数
0
法律状态/事件
授权 | 权利转移
抱歉,您的浏览器不支持PDF预览,请点击链接下载PDF文件