专利数据库
统计分析
产业报告
专利数据监控
产业人才
行业动态
产业政策法规
维权援助
个人中心
详情
文本
图像
标题
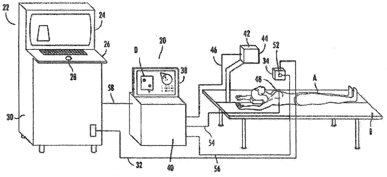
Three dimensional mapping display system for diagnostic ultrasound machines and method
授权日
1900-01-01
公开(公告)号
US20200121283A1
申请日
2019-12-20
公开(公告)日
2020-04-23
当前申请(专利权)人
METRITRACK, INC.
发明人
CALUSER, CALIN
简单同族
CA2751629A1 | CA2751629C | EP2207483A1 | EP2207483A4 | EP2207483B1 | US10512448 | US20090124906A1 | US20140163376A1 | US20200121283A1 | US9439624 | WO2009051847A1
简单同族成员数量
11
简单同族被引用专利总数
49
诉讼案件数
0
法律状态/事件
公开 | 权利转移
抱歉,您的浏览器不支持PDF预览,请点击链接下载PDF文件