专利数据库
统计分析
产业报告
专利数据监控
产业人才
行业动态
产业政策法规
维权援助
个人中心
详情
文本
图像
标题
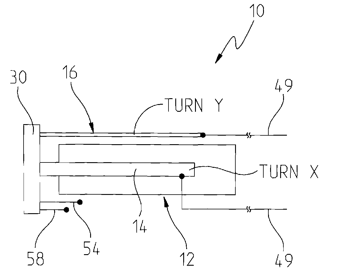
Moveable ultrasound elements for use in medical diagnostic equipment
授权日
1900-01-01
公开(公告)号
US20090259128A1
申请日
2009-04-13
公开(公告)日
2009-10-15
当前申请(专利权)人
IVU IMAGING, INC.
发明人
STRIBLING, MARK L.
简单同族
EP2113201A2 | EP2113201A3 | EP2113201B1 | EP2567661A2 | EP2567661A3 | US20090259128A1
简单同族成员数量
6
简单同族被引用专利总数
34
诉讼案件数
0
法律状态/事件
撤回 | 权利转移
抱歉,您的浏览器不支持PDF预览,请点击链接下载PDF文件