专利数据库
统计分析
产业报告
专利数据监控
产业人才
行业动态
产业政策法规
维权援助
个人中心
详情
文本
图像
标题
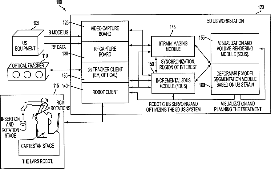
Robotic 5-dimensional ultrasound
授权日
1900-01-01
公开(公告)号
US20110237947A1
申请日
2011-02-15
公开(公告)日
2011-09-29
当前申请(专利权)人
THE JOHNS HOPKINS UNIVERSITY
发明人
BOCTOR, EMAD M. | CHOTI, MICHAEL | FICHTINGER, GABOR | TAYLOR, RUSSELL | PRINCE, JERRY L.
简单同族
US20050187473A1 | US20110237947A1 | US7901357 | WO2005010711A2 | WO2005010711A3
简单同族成员数量
5
简单同族被引用专利总数
72
诉讼案件数
0
法律状态/事件
撤回 | 许可
抱歉,您的浏览器不支持PDF预览,请点击链接下载PDF文件