专利数据库
统计分析
产业报告
专利数据监控
产业人才
行业动态
产业政策法规
维权援助
个人中心
详情
文本
图像
标题
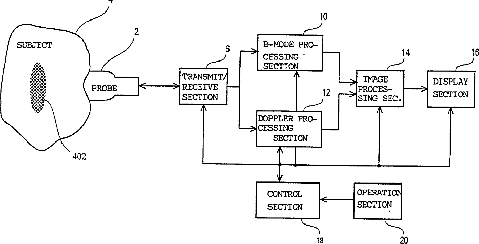
Ultrasonic imaging apparatus and method of indicating the next scanning start time
授权日
1900-01-01
公开(公告)号
US20020042573A1
申请日
2001-08-10
公开(公告)日
2002-04-11
当前申请(专利权)人
GE MEDICAL SYSTEMS GLOBAL TECHNOLOGY COMPANY, LLC,
发明人
HASHIMOTO, HIROSHI | TANAKA, KOW | ANZAI, TERUO | KANNO, KEN
简单同族
CN1232226C | CN1404375A | EP1327160A2 | JP2002119510A | JP3961209B2 | KR100871201B1 | KR1020020064333A | US20020042573A1 | US6461300 | WO2002031530A2 | WO2002031530A3
简单同族成员数量
11
简单同族被引用专利总数
19
诉讼案件数
0
法律状态/事件
未缴年费 | 权利转移
抱歉,您的浏览器不支持PDF预览,请点击链接下载PDF文件