专利数据库
统计分析
产业报告
专利数据监控
产业人才
行业动态
产业政策法规
维权援助
个人中心
详情
文本
图像
标题
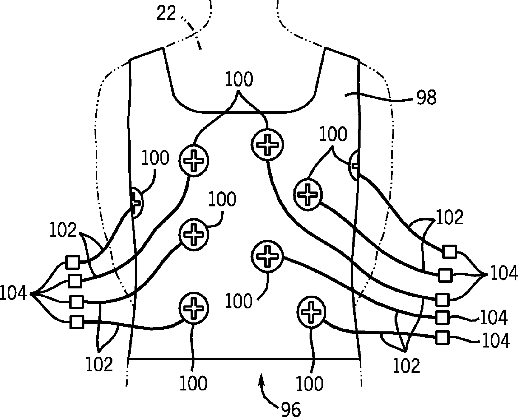
Wearable ultrasound probe assembly and method of manufacturing same
授权日
1900-01-01
公开(公告)号
US20110218423A1
申请日
2011-05-19
公开(公告)日
2011-09-08
当前申请(专利权)人
GENERAL ELECTRIC COMPANY
发明人
HSIEH, JIANG | BARBER, MICHAEL JOHN | KOST, BRIAN J. | CLARKE, WILLIAM R. | JUHL, MICHAEL A. | HALL, ANNE LINDSAY
简单同族
CN101023878A | CN101023878B | DE102007007386A1 | JP2007216026A | JP5192159B2 | US20110216957A1 | US20110218423A1 | US20110218438A1 | US8155729 | US9022933
简单同族成员数量
10
简单同族被引用专利总数
49
诉讼案件数
0
法律状态/事件
撤回 | 权利转移
抱歉,您的浏览器不支持PDF预览,请点击链接下载PDF文件