专利数据库
统计分析
产业报告
专利数据监控
产业人才
行业动态
产业政策法规
维权援助
个人中心
详情
文本
图像
标题
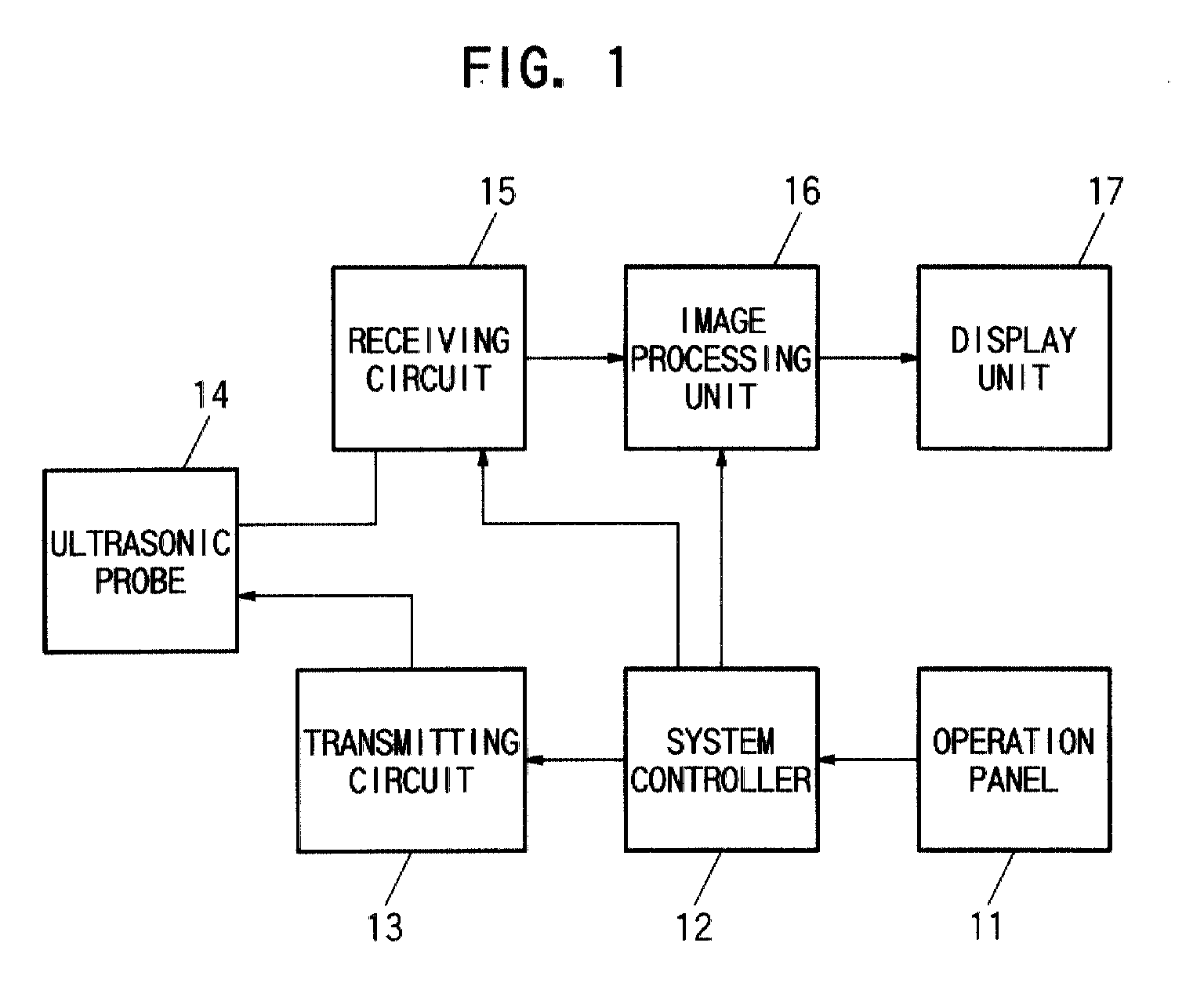
Tomographic ultrasonic diagnostic apparatus
授权日
1900-01-01
公开(公告)号
EP1138262A2
申请日
2001-03-14
公开(公告)日
2001-10-04
当前申请(专利权)人
KONICA MINOLTA, INC.
发明人
NAKAMURA, MITSUYUKI | KOSAKA, NOBORU
简单同族
CA2334148A1 | EP1138262A2 | EP1138262A3 | EP1138262B1 | JP2001269343A | JP3947647B2 | US20010034484A1 | US6503200
简单同族成员数量
8
简单同族被引用专利总数
20
诉讼案件数
0
法律状态/事件
授权 | 权利转移
抱歉,您的浏览器不支持PDF预览,请点击链接下载PDF文件