专利数据库
统计分析
产业报告
专利数据监控
产业人才
行业动态
产业政策法规
维权援助
个人中心
详情
文本
图像
标题
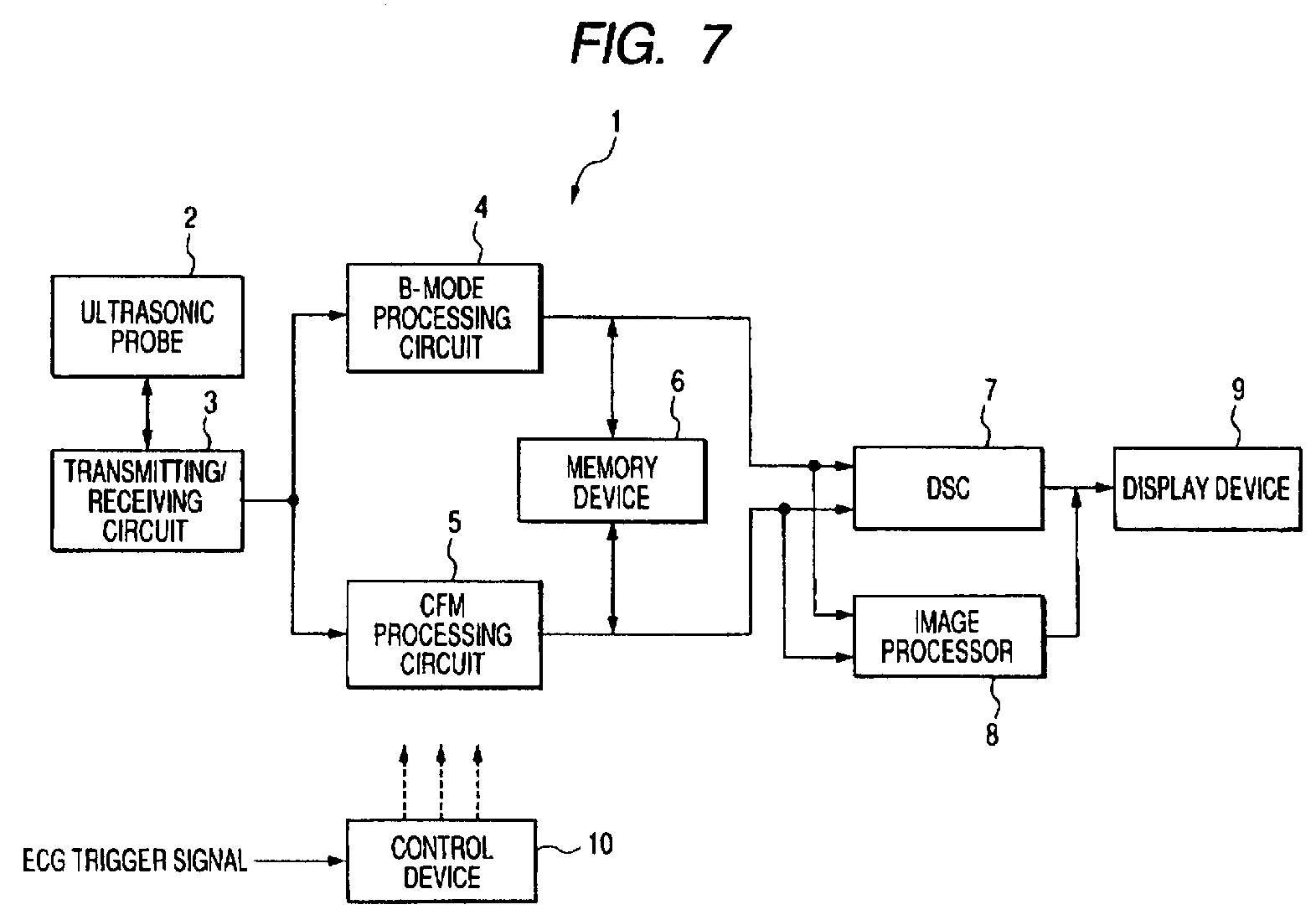
Apparatus for obtaining ultrasonic image and method of obtaining ultrasonic image
授权日
1900-01-01
公开(公告)号
EP1745745A2
申请日
2006-07-14
公开(公告)日
2007-01-24
当前申请(专利权)人
TOSHIBA MEDICAL SYSTEMS CORPORATION | KABUSHIKI KAISHA TOSHIBA
发明人
KOBAYASHI, TADAHARU
简单同族
CN1907229A | CN1907229B | EP1745745A2 | EP1745745A3 | EP1745745B1 | EP1745745B8 | EP1745745B9 | JP2007020908A | US20070038103A1 | US7881774
简单同族成员数量
10
简单同族被引用专利总数
27
诉讼案件数
0
法律状态/事件
授权 | 权利转移
抱歉,您的浏览器不支持PDF预览,请点击链接下载PDF文件