专利数据库
统计分析
产业报告
专利数据监控
产业人才
行业动态
产业政策法规
维权援助
个人中心
详情
文本
图像
标题
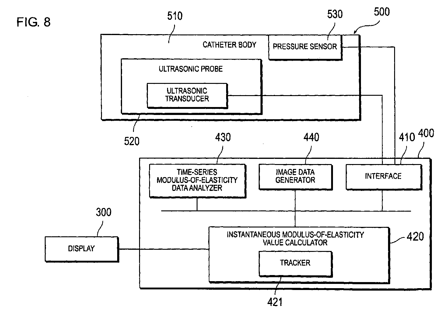
Device to measure the elasticity of a blood vessel by intravascular ultrasound
授权日
1900-01-01
公开(公告)号
EP1475040A3
申请日
2004-05-04
公开(公告)日
2004-12-15
当前申请(专利权)人
TERUMO KABUSHIKI KAISHA
发明人
SHIINA, TSUYOSHI | NITTA, NAOTAKA | YAGAMI, HIROYUKI
简单同族
EP1475040A2 | EP1475040A3 | JP2004329550A | JP2004329550A5 | JP4263943B2 | US20050004467A1 | US7338452
简单同族成员数量
7
简单同族被引用专利总数
69
诉讼案件数
0
法律状态/事件
驳回
抱歉,您的浏览器不支持PDF预览,请点击链接下载PDF文件