专利数据库
统计分析
产业报告
专利数据监控
产业人才
行业动态
产业政策法规
维权援助
个人中心
详情
文本
图像
标题
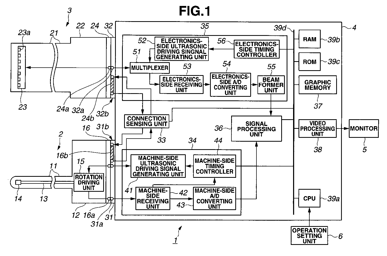
Ultrasonic observing apparatus, control method for ultrasonic observing apparatus, ultrasonic observing system and ultrasonic diagnostic apparatus
授权日
1900-01-01
公开(公告)号
EP1867286A3
申请日
2007-06-13
公开(公告)日
2008-03-05
当前申请(专利权)人
OLYMPUS MEDICAL SYSTEMS CORP.
发明人
MISONO, KAZUHIRO
简单同族
DE602007011850D1 | EP1867286A2 | EP1867286A3 | EP1867286B1 | JP2007330472A | JP5281737B2 | US20080097208A1 | US8366623
简单同族成员数量
8
简单同族被引用专利总数
36
诉讼案件数
0
法律状态/事件
权利终止
抱歉,您的浏览器不支持PDF预览,请点击链接下载PDF文件