专利数据库
统计分析
产业报告
专利数据监控
产业人才
行业动态
产业政策法规
维权援助
个人中心
详情
文本
图像
标题
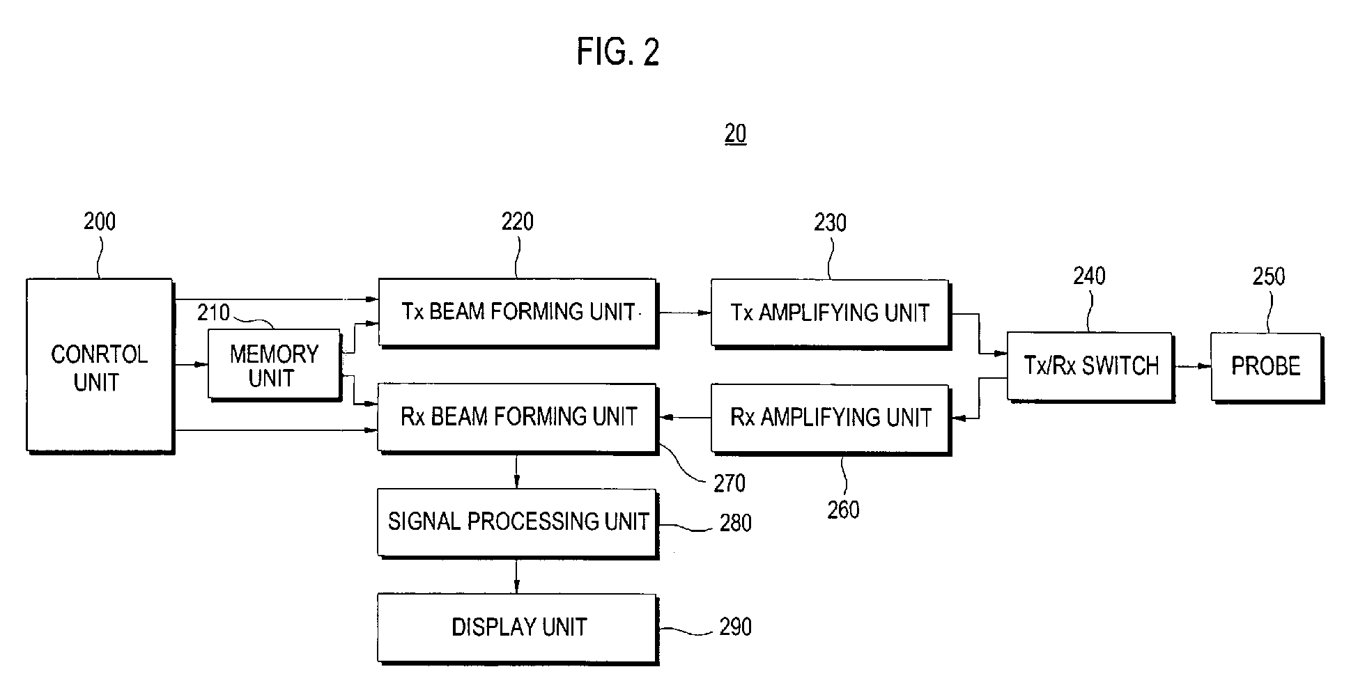
Ultrasound diagnostic system and method of forming Tx and Rx beams by using delay data
授权日
1900-01-01
公开(公告)号
EP1744175A3
申请日
2006-07-12
公开(公告)日
2009-10-14
当前申请(专利权)人
MEDISON CO., LTD.
发明人
KYE, SANG BUM
简单同族
EP1744175A2 | EP1744175A3 | JP2007021214A | KR100847797B1 | KR1020070009279A | US20070016049A1
简单同族成员数量
6
简单同族被引用专利总数
18
诉讼案件数
0
法律状态/事件
撤回
抱歉,您的浏览器不支持PDF预览,请点击链接下载PDF文件