专利数据库
统计分析
产业报告
专利数据监控
产业人才
行业动态
产业政策法规
维权援助
个人中心
详情
文本
图像
标题
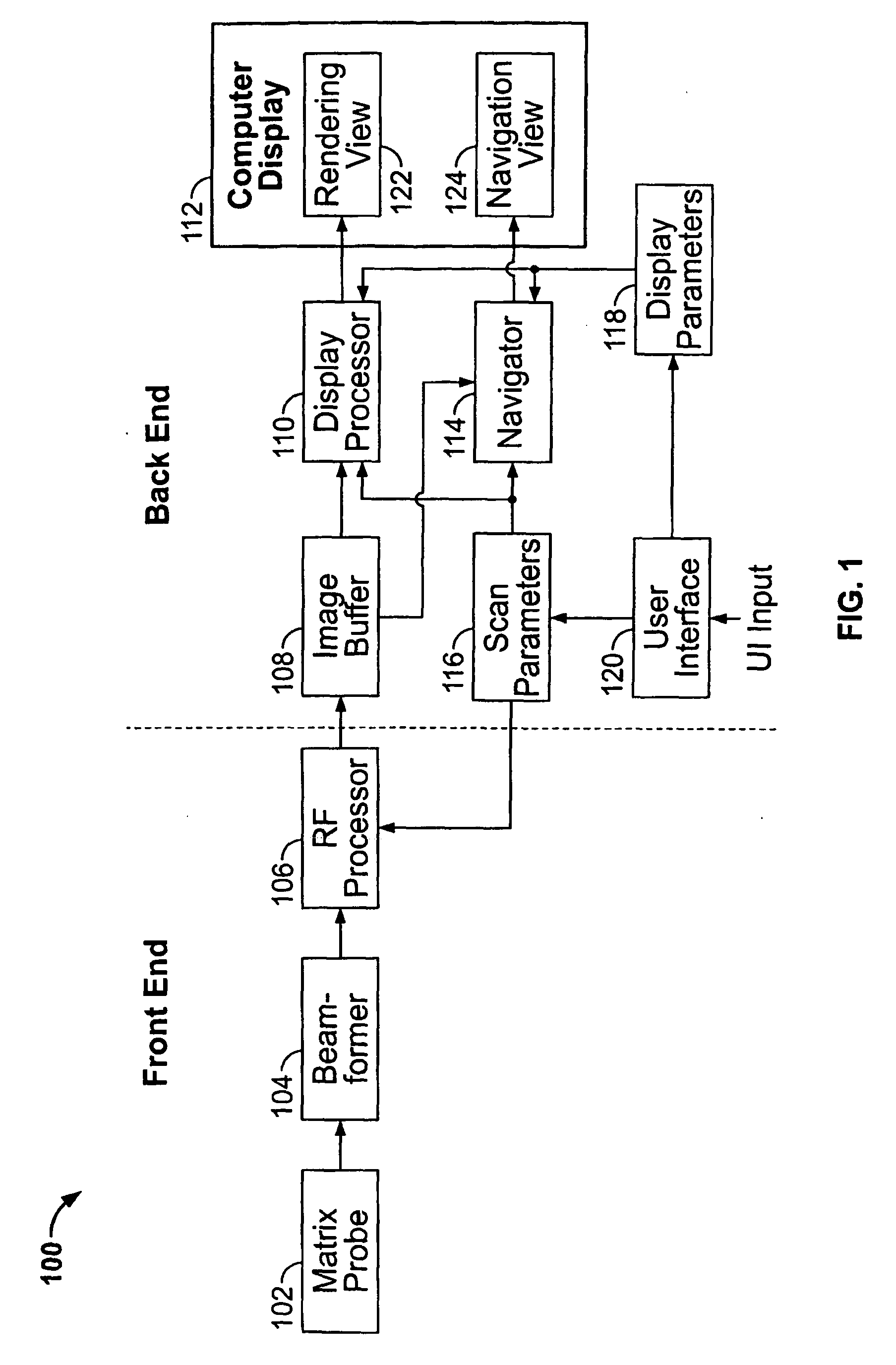
Apparatus for medical ultrasound navigation user interface
授权日
2011-08-10
公开(公告)号
EP1609424B1
申请日
2005-06-10
公开(公告)日
2011-08-10
当前申请(专利权)人
GENERAL ELECTRIC COMPANY
发明人
STEEN, ERIK NORMANN | TORKILDSEN, RUNE | MARTENS, DITLEF
简单同族
AT519430T | EP1609424A1 | EP1609424B1 | JP2006006933A | JP4864354B2 | US20050283079A1 | US7604595
简单同族成员数量
7
简单同族被引用专利总数
56
诉讼案件数
0
法律状态/事件
权利终止
抱歉,您的浏览器不支持PDF预览,请点击链接下载PDF文件