专利数据库
统计分析
产业报告
专利数据监控
产业人才
行业动态
产业政策法规
维权援助
个人中心
详情
文本
图像
标题
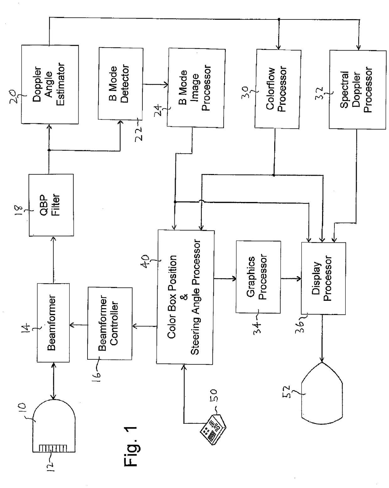
Ultrasound system with automated doppler flow settings
授权日
2018-01-03
公开(公告)号
EP2745137B1
申请日
2012-09-14
公开(公告)日
2018-01-03
当前申请(专利权)人
KONINKLIJKE PHILIPS N.V.
发明人
LOUPAS, THANASIS | SAAD, ASHRAF
简单同族
CN103842841A | CN103842841B | EP2745137A1 | EP2745137B1 | JP2014528266A | JP2014528266A5 | JP5992044B2 | MX2014003627A | MX346426B | RU2014117544A | RU2606961C2 | US10342515 | US20140221838A1 | WO2013046087A1
简单同族成员数量
14
简单同族被引用专利总数
19
诉讼案件数
0
法律状态/事件
授权
抱歉,您的浏览器不支持PDF预览,请点击链接下载PDF文件