专利数据库
统计分析
产业报告
专利数据监控
产业人才
行业动态
产业政策法规
维权援助
个人中心
详情
文本
图像
标题
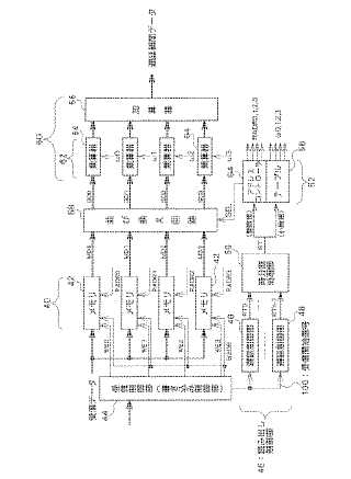
超音波診断装置
授权日
1900-01-01
公开(公告)号
JP2004166745A
申请日
2002-11-15
公开(公告)日
2004-06-17
当前申请(专利权)人
アロカ株式会社
发明人
藤木 俊昭
简单同族
JP2004166745A | JP3884370B2
简单同族成员数量
2
简单同族被引用专利总数
19
诉讼案件数
0
法律状态/事件
未缴年费
抱歉,您的浏览器不支持PDF预览,请点击链接下载PDF文件