专利数据库
统计分析
产业报告
专利数据监控
产业人才
行业动态
产业政策法规
维权援助
个人中心
详情
文本
图像
标题
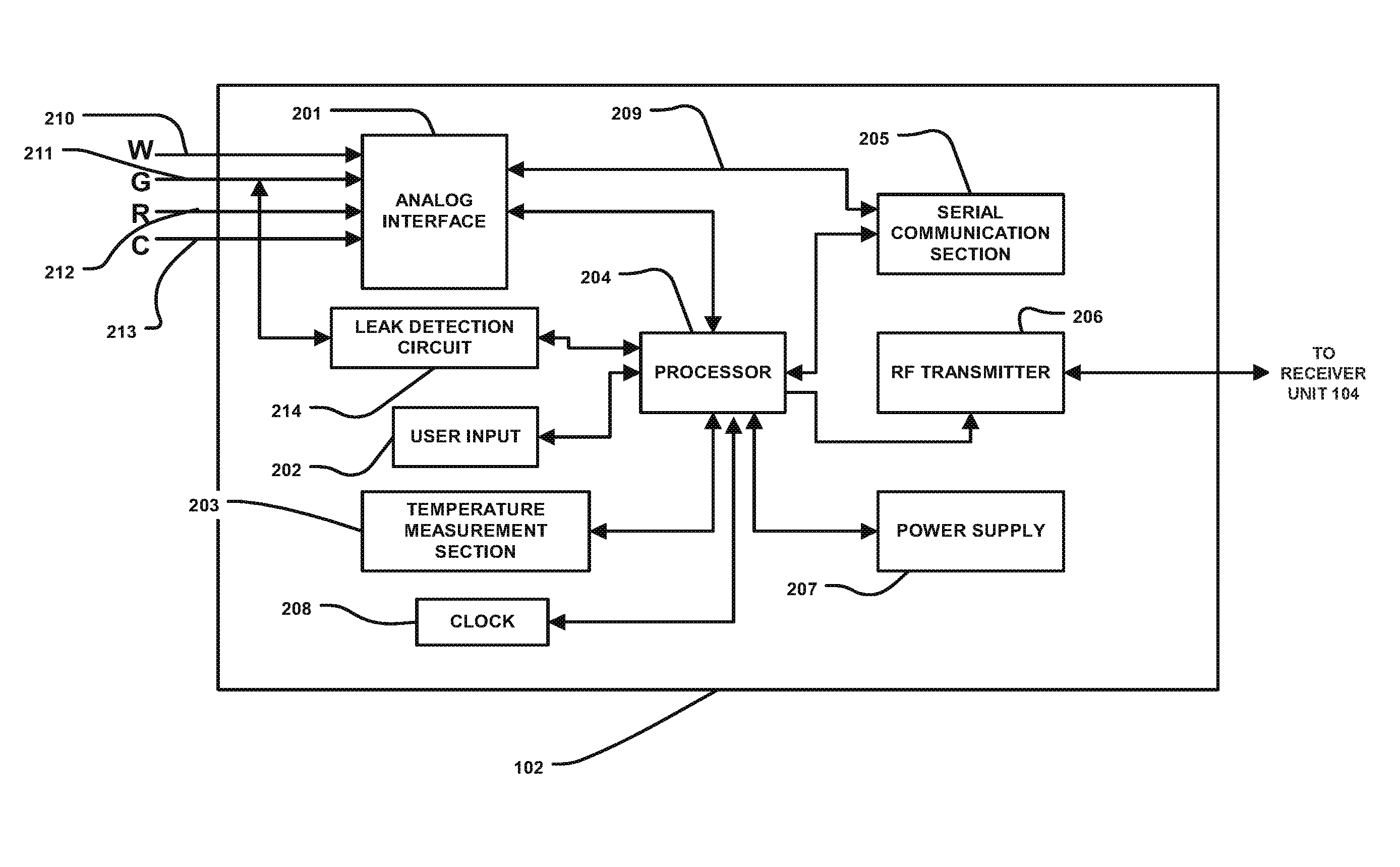
Method and apparatus for providing dynamic multi-stage signal amplification in a medical device
授权日
1900-01-01
公开(公告)号
US20160317071A1
申请日
2016-07-13
公开(公告)日
2016-11-03
当前申请(专利权)人
ABBOTT DIABETES CARE INC.
发明人
FENNELL, MARTIN J.
简单同族
CA2683721A1 | CA2683721C | EP2146622A2 | EP2146622A4 | EP2146622B1 | US10194846 | US20080252443A1 | US20100295609A1 | US20110224522A1 | US20120190954A1 | US20130237785A1 | US20140171773A1 | US20150126836A1 | US20160317071A1 | US20170354356A1 | US20190159706A1 | US7768387 | US7948369 | US8149103 | US8427298 | US8698615 | US8937540 | US9402584 | US9743866 | WO2008130895A2 | WO2008130895A3
简单同族成员数量
26
简单同族被引用专利总数
151
诉讼案件数
0
法律状态/事件
授权 | 权利转移
抱歉,您的浏览器不支持PDF预览,请点击链接下载PDF文件