专利数据库
统计分析
产业报告
专利数据监控
产业人才
行业动态
产业政策法规
维权援助
个人中心
详情
文本
图像
标题
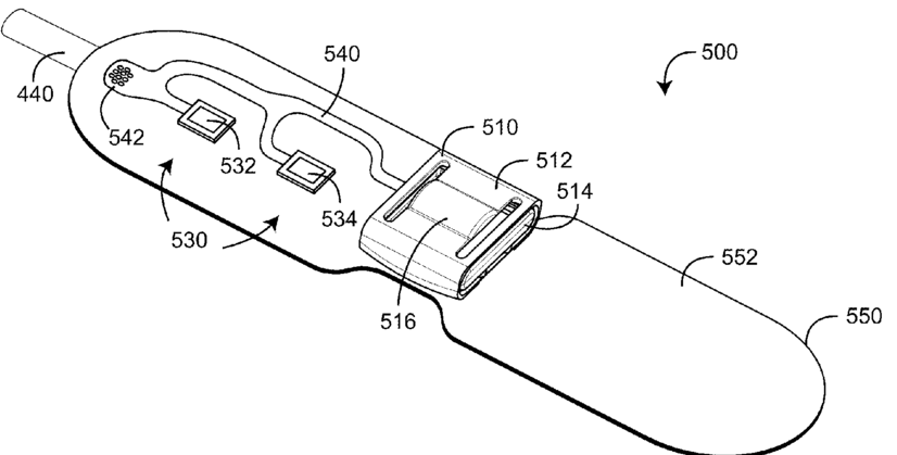
Opticoustic sensor
授权日
2017-10-10
公开(公告)号
US9782110
申请日
2015-10-30
公开(公告)日
2017-10-10
当前申请(专利权)人
MASIMO CORPORATION
发明人
KIANI, MASSI JOE E.
简单同族
US20160045118A1 | US20180153446A1 | US9326712 | US9782110
简单同族成员数量
4
简单同族被引用专利总数
194
诉讼案件数
0
法律状态/事件
授权
抱歉,您的浏览器不支持PDF预览,请点击链接下载PDF文件