专利数据库
统计分析
产业报告
专利数据监控
产业人才
行业动态
产业政策法规
维权援助
个人中心
详情
文本
图像
标题
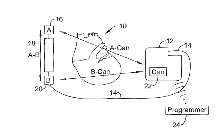
Sensing vector selection in a cardiac stimulus device with postural assessment
授权日
2017-08-29
公开(公告)号
US9744366
申请日
2016-05-10
公开(公告)日
2017-08-29
当前申请(专利权)人
CAMERON HEALTH, INC.
发明人
SANGHERA, RICK | ALLAVATAM, VENUGOPAL
简单同族
AU2008213812A1 | AU2008213812B2 | CA2676425A1 | CA2676425C | CN101668479A | CN101668479B | EP2114244A1 | EP2114244B1 | ES2691249T3 | JP2010517692A | JP2010517692A5 | JP5102313B2 | US10016609 | US20080188901A1 | US20120245651A1 | US20130274822A1 | US20140350631A1 | US20150182171A1 | US20150328470A1 | US20160250488A1 | US20170333721A1 | US8200341 | US8483843 | US8781602 | US8965530 | US9119596 | US9357969 | US9744366 | WO2008098062A1
简单同族成员数量
29
简单同族被引用专利总数
200
诉讼案件数
0
法律状态/事件
授权
抱歉,您的浏览器不支持PDF预览,请点击链接下载PDF文件