专利数据库
统计分析
产业报告
专利数据监控
产业人才
行业动态
产业政策法规
维权援助
个人中心
详情
文本
图像
标题
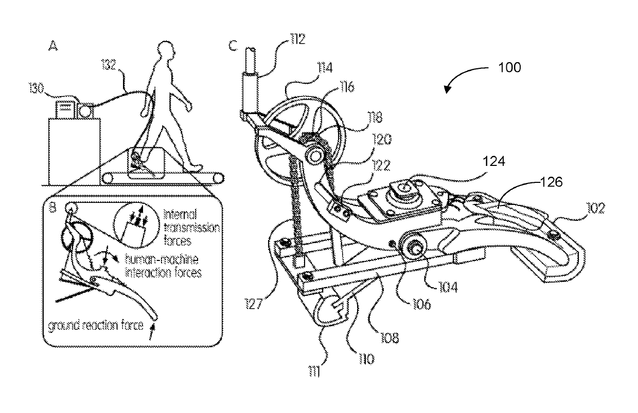
Methods, apparatuses and systems for amputee gait capacity assessment
授权日
2020-01-21
公开(公告)号
US10537283
申请日
2015-08-15
公开(公告)日
2020-01-21
当前申请(专利权)人
CARNEGIE MELLON UNIVERSITY
发明人
CAPUTO, JOSHUA M. | COLLINS, STEVEN H. | ADAMCYZK, PETER G. | KIM, MYUNGHEE | CHEN, TIANJIAN | CHEN, TIANYAO
简单同族
US10537283
简单同族成员数量
1
简单同族被引用专利总数
0
诉讼案件数
0
法律状态/事件
授权 | 权利转移
抱歉,您的浏览器不支持PDF预览,请点击链接下载PDF文件