专利数据库
统计分析
产业报告
专利数据监控
产业人才
行业动态
产业政策法规
维权援助
个人中心
详情
文本
图像
标题
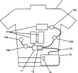
Wearable defibrillator with audio input/output
授权日
2018-06-26
公开(公告)号
US10004893
申请日
2017-03-24
公开(公告)日
2018-06-26
当前申请(专利权)人
ZOLL MEDICAL CORPORATION
发明人
MACHO, JOHN D | VOLPE, SHANE S | RATTANNI, RICHARD A | SKALOS, PHILIP C | KAIB, THOMAS E | LINDER, MARSHAL W
简单同族
DE102008026871A1 | DE102008026871B4 | FR2916981A1 | FR2916981B1 | JP2008302225A | JP2008302225A5 | JP2014111158A | JP2016137321A | JP5467733B2 | JP5932856B2 | US10004893 | US10029110 | US10426946 | US20080306560A1 | US20130144355A1 | US20140324112A1 | US20150148857A1 | US20170021186A1 | US20170189672A1 | US20180304068A1 | US20190374767A1 | US8369944 | US8774917 | US8965500 | US9492676
简单同族成员数量
25
简单同族被引用专利总数
180
诉讼案件数
0
法律状态/事件
授权 | 权利转移
抱歉,您的浏览器不支持PDF预览,请点击链接下载PDF文件