专利数据库
统计分析
产业报告
专利数据监控
产业人才
行业动态
产业政策法规
维权援助
个人中心
详情
文本
图像
标题
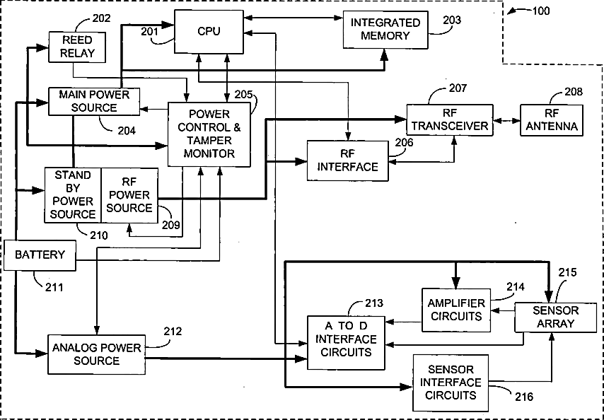
Bio-information sensor monitoring system and method
授权日
1900-01-01
公开(公告)号
US20040236189A1
申请日
2003-05-19
公开(公告)日
2004-11-25
当前申请(专利权)人
ALCOHOL MONITORING SYSTEMS, INC.
发明人
HAWTHORNE, JEFFREY SCOTT | IIAMS, MICHAEL LEONARD | TUBB, GLENN CHARLES | STOLL, RICHARD A. | SHOFFNER, GARY ALAN
简单同族
US20040236189A1 | US20050163293A1 | US20050177615A1 | US7311665 | US9489487 | WO2004103163A2 | WO2004103163A3
简单同族成员数量
7
简单同族被引用专利总数
184
诉讼案件数
0
法律状态/事件
授权 | 质押 | 权利转移
抱歉,您的浏览器不支持PDF预览,请点击链接下载PDF文件